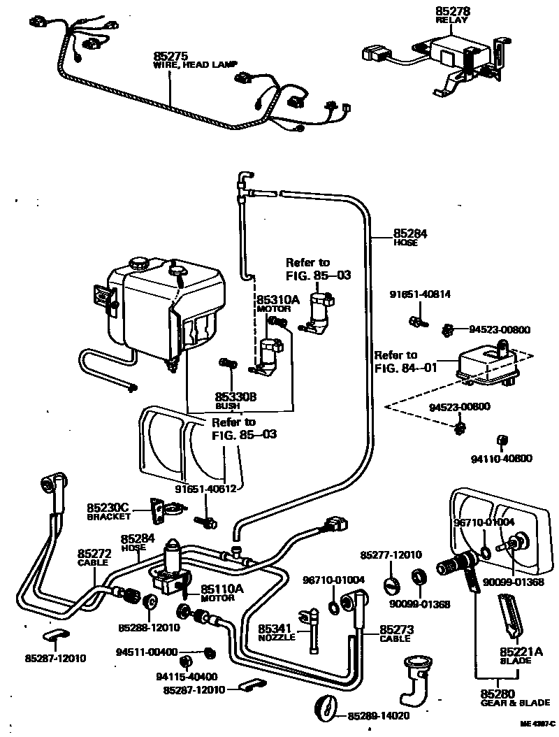
HEADLAMP CLEANER

8401SWITCH & RELAY & COMPUTER
8503WINDSHIELD WASHER
85110AMOTOR ASSY, HEADLAMP CLEANER
85221ABLADE ASSY, HEADLAMP CLEANER
85230CBRACKET ASSY, HEADLAMP CLEANER
85272CABLE SUB-ASSY, HEADLAMP CLEANER, RH
85273CABLE SUB-ASSY, HEADLAMP CLEANER, LH
85275WIRING SUB-ASSY, HEADLAMP CLEANER
85278RELAY ASSY, HEADLAMP CLEANER CONTROL
85280GEAR AND BLADE SUB-ASSY, HEADLAMP CLEANER
85284HOSE ASSY, HEADLAMP CLEANER WASHER
PUMP SIDE
NOZZLE SIDE
85310AMOTOR AND PUMP ASSY, HEADLAMP CLEANER WASHER
85330BBUSH, HEADLAMP CLEANER WASHER JAR
85341NOZZLE, HEADLAMP CLEANER WASHER
RH
LH
8527712010HOSE, HEADLAMP CLEANER, C
main85277-12010
8528712010JOINT, HEADLAMP CLEANER HOSE, NO.1
main85287-12010
8528812010JOINT, HEADLAMP CLEANER HOSE NO.2
main85288-12010
8528914020
main85289-14020
9009901368
main90099-01368
9165140612
main91651-40612
9165140814
main91651-40814
9411040800
main94110-40800
9411540400
main94115-40400
9451100400
main94511-00400
9452300800
main94523-00800
9671001004
main96710-01004
26 parts on this diagram · 2 diagrams in section