E
EPC Data

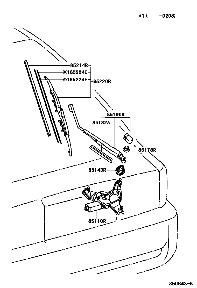
REAR WIPER

Parts diagram
85110RMOTOR ASSY, REAR WIPER
main85130-20780i199908-200208
85132ACOVER, REAR WIPER SHAFT
main85132-20740i200003-200208
85143RGROMMET, REAR WIPER MOTOR
main85143-20700i199908-200208
85178RNUT (FOR REAR WIPER ARM SETTING)
main90179-06158i199908-200208
85190RARM ASSY, REAR WIPER
main85241-20120i199908-200008
main85241-20150i200008-200208
85214RRUBBER, REAR WIPER
main85214-24050i200408-200509
main85214-30310i200208-200408
main85214-32080i199908-200004
main85214-42020i200004-200008
85220RBLADE ASSY, REAR WIPER
main85222-12730i200004-200008
main85222-52130i200408-200509
main85222-60170i200208-200408
main85242-32040i199908-200004
85224EPLATE, REAR WIPER RUBBER BACKING, NO.1
main85224-10210i200004-200208
main85224-20360i199908-200004
85224FPLATE, REAR WIPER RUBBER BACKING, NO.2
main85224-10210i200004-200208
main85224-20360i199908-200004

9 parts on this diagram · 1 diagram in section

REAR WIPER — Toyota Parts Diagram with OEM Numbers & Prices | EPC Data