E
EPC Data

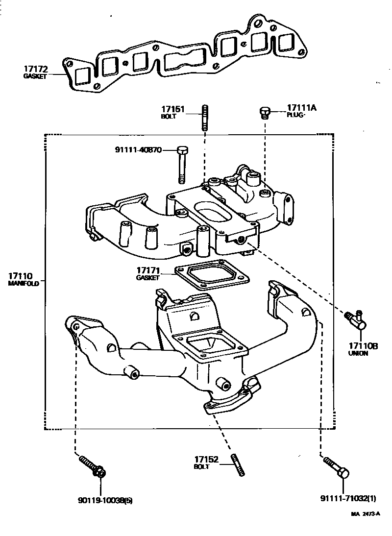
MANIFOLD

Parts diagram
17110MANIFOLD ASSY
main17110-34051i197708-197901
main17110-34052i197901-197908
main17110-34053i197908-198012
main17110-34054i198012-198107
main17110-34090i197708-197901
main17110-34100i197901-197908
main17110-34101i197908-198008
main17110-34102i198008-198012
main17110-34103i198012-198107
main17110-34150i198012-198107
17110BUNION(FOR VENTILATION HOSE TO MANIFOLD)
main90072-40606×2i197708-198107
main90404-51093i197708-197908
main90404-53033i197908-198107
main90407-09001i197708-197908
main90407-09003i197908-198107
main90407-10040i197708-197908
17111MANIFOLD, INTAKE
main17111-25020i197708-197801
main17111-25901i197801-198107
main17111-26051i197708-198107
main17111-88220i197708-197908
main17111-88222i197908-198107
main17111-88250i197708-198107
17111APLUG, NO.1
main90072-34107i197908-198107
main90344-51001×2i197812-198002
main90344-51010i198002-198003
main90344-51014i198003-198107
main90345-51005i197710-198107
L=9,P=1/8
main90345-53007i197708-198107
L=14,P=3/8
17151BOLT, STUD(FOR MANIFOLD TO CARBURETOR)
main90116-08008×4i197708-198107
FR
main90116-08009×4i197708-198107
RR
main90116-08023×4i197708-198107
main90116-08052×4i197708-198107
L=53,S=14&14
main90116-08110×8i197708-198107
L=43,S=12&12
17152BOLT, STUD(FOR MANIFOLD TO EXHAUST PIPE)
main90116-10017×3i198008-198107
L=41,S=14&21
main90116-10056×3i198008-198107
L=44,S=14&21
main90116-10058×3i198107-198107
L=46.5,S=14&20
main92122-41022×3i197708-198107
L=37,S=15&15
17171GASKET, INTAKE TO EXHAUST MANIFOLD
main17171-34020i197708-197901
main17171-34030×2i197901-198107
17172GASKET, MANIFOLD TO CYLINDER HEAD
main17172-34020i197708-198107
9011910038
9111140870
9111171032

11 parts on this diagram · 7 diagrams in section

MANIFOLD — Toyota Parts Diagram with OEM Numbers & Prices | EPC Data