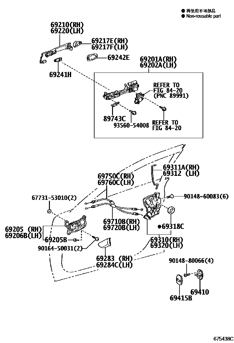
FRONT DOOR LOCK & HANDLE

69201AFRAME SUB-ASSY, FRONT DOOR OUTSIDE HANDLE, RH
69202AFRAME SUB-ASSY, FRONT DOOR OUTSIDE HANDLE, LH
69205HANDLE SUB-ASSY, FRONT DOOR INSIDE, RH
BLACK,TRIM2#
69205BCUSHION(FOR FRONT DOOR INSIDE HANDLE)
69206BHANDLE SUB-ASSY, FRONT DOOR INSIDE, LH
BLACK,TRIM2#
69210HANDLE ASSY, FRONT DOOR, OUTSIDE RH
69217ECOVER, FRONT DOOR OUTSIDE HANDLE, RH
69217FCOVER, FRONT DOOR OUTSIDE HANDLE, LH
69220HANDLE ASSY, FRONT DOOR OUTSIDE, LH
69241HPAD, FRONT DOOR OUTSIDE HANDLE, FRONT
RH
LH
69242EPAD, FRONT DOOR OUTSIDE HANDLE, REAR
RH
LH
69283PLUG, FRONT DOOR INSIDE HANDLE BEZEL, RH
69284CPLUG, FRONT DOOR INSIDE HANDLE BEZEL, LH
69310LOCK ASSY, FRONT DOOR, RH
69311AROD, FRONT DOOR LOCK OPEN, RH
69312ROD, FRONT DOOR LOCK OPEN, LH
69318CSEAL, DOOR LOCK WIRING HARNESS
69320LOCK ASSY, FRONT DOOR, LH
69410PLATE ASSY, FRONT DOOR LOCK STRIKER
69710BCABLE ASSY, FRONT DOOR LOCK REMOTE CONTROL, RH
69720BCABLE ASSY, FRONT DOOR LOCK REMOTE CONTROL, LH
69750CCABLE ASSY, FRONT DOOR INSIDE LOCKING, RH
69760CCABLE ASSY, FRONT DOOR INSIDE LOCKING LH
8420
89743CBRACKET, ELECTRICAL KEY WIRE HARNESS
RH
LH
6773153010SPACER, SIDE TRIM, NO.1
main67731-53010
9014860083
main90148-60083
9014880066
main90148-80066
9016450031
main90164-50031
9356054008
main93560-54008
31 parts on this diagram · 1 diagram in section