E
EPC Data
Pricing
Sign In
Home
›
GR
›
242520
›
OIL COOLER & TUBE (ATM)
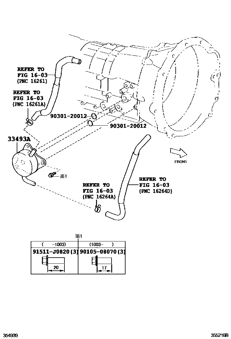
OIL COOLER & TUBE (ATM)
0001 1A960E
0002 1A760E
1603
33493A
COOLER, TRANSMISSION OIL(ATF WARMER)
main
33493-22030
i
GSE20..ATM
200508-200808
main
33493-30020
i
GSE20..ATM
201003-201008
9010508070
main
90105-08070
9030120012
main
90301-20012
91511J0820
main
91511-J0820
5 parts on this diagram · 2 diagrams in section
OIL COOLER & TUBE (ATM) — Toyota Parts Diagram with OEM Numbers & Prices | EPC Data