E
EPC Data

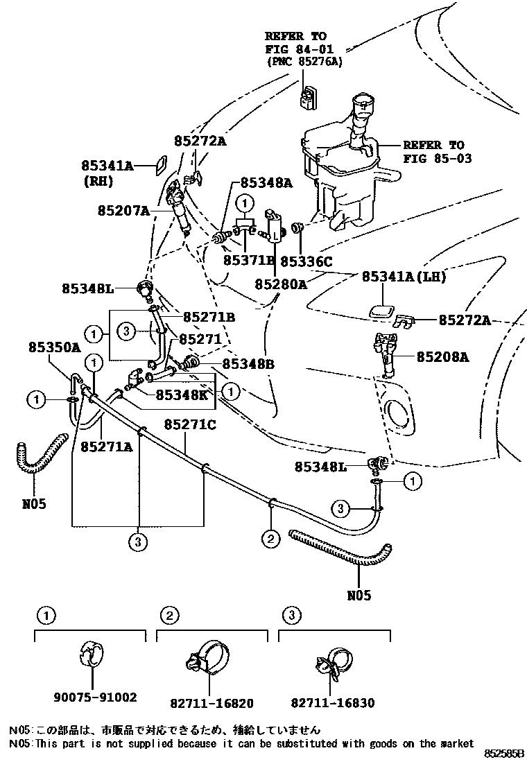
HEADLAMP CLEANER

Parts diagram
8401SWITCH & RELAY & COMPUTER
8503WINDSHIELD WASHER
85207AACTUATOR SUB-ASSY, HEADLAMP WASHER, RH
main85207-76020i201312-201708
HEADLAMP-LED
main85207-76030i201708-202007
main85207-76010i201012-201312
HEAD LAMP-LED
85208AACTUATOR SUB-ASSY, HEADLAMP WASHER, LH
main85208-76020i201312-201708
HEADLAMP-LED
main85208-76030i201708-202007
main85208-76010i201012-201312
HEAD LAMP-LED
85271HOSE, HEADLAMP CLEANER, NO.1
main90075-15053i201708-202108
L=35,HEADLAMP-LED; L=35,HEADLAMP-LED & WITH(AUTOMATIC HIGH BEAM)
85271AHOSE, HEADLAMP CLEANER, NO.2
main90075-15069supersedes 90075-15095i201012-201312
L=280,HEAD LAMP-LED
main90075-15095i201708-202108
L=280,HEADLAMP-LED; L=280,HEADLAMP-LED & WITH(AUTOMATIC HIGH BEAM)
85271BHOSE, HEADLAMP CLEANER, NO.3
main90075-15058supersedes 90075-15062i201012-201312
L=140,HEAD LAMP-LED
main90075-15062i201708-202105
L=240,HEADLAMP-LED; L=240,HEADLAMP-LED & WITH(AUTOMATIC HIGH BEAM)
85271CHOSE, HEADLAMP CLEANER, NO.4
main90075-15087supersedes 90075-15090i201012-201312
L=1250,HEAD LAMP-LED
main90075-15090i201708-202105
L=850,HEADLAMP-LED; L=850,HEADLAMP-LED & WITH(AUTOMATIC HIGH BEAM)
85272ACLAMP, HEADLAMP CLEANER, NO.1
main85272-28030×2supersedes 85272-75050i201012-201312
HEAD LAMP-LED
main85272-75050×2i201708-202105
HEADLAMP-LED; HEADLAMP-LED & WITH(AUTOMATIC HIGH BEAM)
85280AMOTOR AND PUMP ASSY, HEADLAMP CLEANER
main85280-47010i201708-202105
COLD AREA SPEC&HEADLAMP-LED; COLD AREA SPEC&HEADLAMP-LED & WITH(AUTOMATIC HIGH BEAM); COLD AREA SPEC&REAR WINDOW WIPER-WITH&HEADLAMP-LED; COLD AREA SPEC&REAR WINDOW WIPER-WITH&HEADLAMP-LED & WITH(AUTOMATIC HIGH BEAM); HEADLAMP-LED; HEADLAMP-LED & WITH(AUTOMATIC HIGH BEAM); REAR WINDOW WIPER-WITH&HEADLAMP-LED; REAR WINDOW WIPER-WITH&HEADLAMP-LED & WITH(AUTOMATIC HIGH BEAM)
85336CPACKING, HEADLAMP CLEANER MOTOR
main90099-32089i201708-202108
COLD AREA SPEC&HEADLAMP-LED; COLD AREA SPEC&HEADLAMP-LED & WITH(AUTOMATIC HIGH BEAM); COLD AREA SPEC&REAR WINDOW WIPER-WITH&HEADLAMP-LED; COLD AREA SPEC&REAR WINDOW WIPER-WITH&HEADLAMP-LED & WITH(AUTOMATIC HIGH BEAM); HEADLAMP-LED; HEADLAMP-LED & WITH(AUTOMATIC HIGH BEAM); REAR WINDOW WIPER-WITH&HEADLAMP-LED; REAR WINDOW WIPER-WITH&HEADLAMP-LED & WITH(AUTOMATIC HIGH BEAM)
85341ACOVER,HEADLAMP CLEANER WASHER NOZZLE
main85353-76020-A0i201312-201508
HEADLAMP-LED,WHITE PEARL CS.,077 ,2LH,RH; WHITE PEARL CS.,077 ,2LH,RH
main85353-76020-A1i201312-202007
WHITE NOVA GF.,083 ,2LJ,RH
main85353-76020-A2i201408-202007
SONIC QUARTZ,085 ,2MP ,2QB ,2QC,RH
main85353-76020-B0i201312-202007
MERCURY GRAY MC.,1H9 ,2LL,RH
main85353-76020-B1i201312-201606
HEADLAMP-LED,PLATINUM SILVER ME.,1J4 ,2LK ,2LL,RH; PLATINUM SILVER ME.,1J4 ,2LK ,2LL,RH
main85353-76020-B2i201408-202007
SONIC TITANIUM,1J7 ,2MN,RH
main85353-76020-C0i201312-202007
BLACK,212 ,2PZ,RH
main85353-76020-C1i201312-201508
BLACK OPAL MC.,214,RH; HEADLAMP-LED,BLACK OPAL MC.,214,RH
main85353-76020-C3i201508-202007
GRAPHITE BLACK GF.,223 ,2PZ,RH
main85353-76020-D1i201312-202007
RED MC.CS.,2LM ,2QA ,3R1,RH
main85353-76020-D2i201312-202007
SOLID RED,2LN ,3T2,RH
main85353-76020-E0i201312-201606
FIRE AGATE M.M.,4V3,RH; HEADLAMP-LED,FIRE AGATE M.M.,4V3,RH
main85353-76020-E1i201606-202007
AMBER CS.,2PW ,4X2,RH
main85353-76020-F0i201312-201508
FLARE YELLOW M.M.,2LP ,5B1,RH; HEADLAMP-LED,FLARE YELLOW M.M.,2LP ,5B1,RH
main85353-76020-J0i201312-201606
BLUE ME.,2LQ ,8U1,RH; HEADLAMP-LED,BLUE ME.,2LQ ,8U1,RH
main85353-76020-J1i201508-202007
DEEP BLUE MC.,2PK ,8X5,RH
main85353-76020-J2i201606-202007
SPARKLING METEOR ME.,2PX ,8X9,RH
main85354-76020-A0i201312-201508
HEADLAMP-LED,WHITE PEARL CS.,077 ,2LH,LH; WHITE PEARL CS.,077 ,2LH,LH
main85354-76020-A1i201312-202007
WHITE NOVA GF.,083 ,2LJ,LH
main85354-76020-A2i201408-202007
SONIC QUARTZ,085 ,2MP ,2QB ,2QC,LH
main85354-76020-B0i201312-202007
MERCURY GRAY MC.,1H9 ,2LL,LH
main85354-76020-B1i201312-201606
HEADLAMP-LED,PLATINUM SILVER ME.,1J4 ,2LK ,2LL,LH; PLATINUM SILVER ME.,1J4 ,2LK ,2LL,LH
main85354-76020-B2i201408-202007
SONIC TITANIUM,1J7 ,2MN,LH
main85354-76020-C0i201312-202007
BLACK,212 ,2PZ,LH
main85354-76020-C1i201312-201508
BLACK OPAL MC.,214,LH; HEADLAMP-LED,BLACK OPAL MC.,214,LH
main85354-76020-C3i201508-202007
GRAPHITE BLACK GF.,223 ,2PZ,LH
main85354-76020-D1i201312-202007
RED MC.CS.,2LM ,2QA ,3R1,LH
main85354-76020-D2i201312-202007
SOLID RED,2LN ,3T2,LH
main85354-76020-E0i201312-201606
FIRE AGATE M.M.,4V3,LH; HEADLAMP-LED,FIRE AGATE M.M.,4V3,LH
main85354-76020-E1i201606-202007
AMBER CS.,2PW ,4X2,LH
main85354-76020-F0i201312-201508
FLARE YELLOW M.M.,2LP ,5B1,LH; HEADLAMP-LED,FLARE YELLOW M.M.,2LP ,5B1,LH
main85354-76020-J0i201312-201606
BLUE ME.,2LQ ,8U1,LH; HEADLAMP-LED,BLUE ME.,2LQ ,8U1,LH
main85354-76020-J1i201508-202007
DEEP BLUE MC.,2PK ,8X5,LH
main85354-76020-J2i201606-202007
SPARKLING METEOR ME.,2PX ,8X9,LH
main85353-76010-A0i201012-201312
HEAD LAMP-LED,WHITE PEARL CS.,077,RH
main85353-76010-A1i201208-201312
HEAD LAMP-LED,WHITE NOVA GF.,083,RH
main85353-76010-B0i201012-201208
HEAD LAMP-LED,SILVER M.M.,1G1,RH
main85353-76010-B1i201108-201312
HEAD LAMP-LED,MERCURY GRAY MC.,1H9,RH
main85353-76010-B2i201012-201111
HEAD LAMP-LED,DK.GRAY MC.,1G0,RH
main85353-76010-B3i201208-201312
HEAD LAMP-LED,PLATINUM SILVER ME.,1J4,RH
main85353-76010-C0i201012-201312
HEAD LAMP-LED,BLACK,212,RH
main85353-76010-C1i201012-201312
HEAD LAMP-LED,BLACK OPAL MC.,214,RH
main85353-76010-D0i201012-201312
HEAD LAMP-LED,RED MC.CS.,3R1,RH
main85353-76010-E0i201012-201312
HEAD LAMP-LED,FIRE AGATE M.M.,4V3,RH
main85353-76010-F0i201012-201312
HEAD LAMP-LED,FLARE YELLOW M.M.,5B1,RH
main85353-76010-J0i201012-201312
HEAD LAMP-LED,BLUE ME.,8U1,RH
main85353-76010-J1i201012-201208
HEAD LAMP-LED,SILVERY BLUE ME.,8U9,RH
main85353-76020-E2i201708-202008
HEADLAMP-LED & WITH(AUTOMATIC HIGH BEAM),LAVA ORANGE CS.,2QE ,4W7,RH; HEADLAMP-LED,LAVA ORANGE CS.,2QE ,4W7,RH
main85353-76020-E3i202008-202108
HEADLAMP-LED & WITH(AUTOMATIC HIGH BEAM),BLAZING CARNELIAN CONTRAS,4Y1,RH; HEADLAMP-LED,BLAZING CARNELIAN CONTRAS,4Y1,RH
main85353-76020-G0i202008-202108
HEADLAMP-LED & WITH(AUTOMATIC HIGH BEAM),TERRANE KHAKI M.M.,6X4,RH; HEADLAMP-LED,TERRANE KHAKI M.M.,6X4,RH
main85353-76020-J3i201708-202105
HEADLAMP-LED & WITH(AUTOMATIC HIGH BEAM),HEAT BLUE CONTRAST LAYERI,2QF ,8X1,RH; HEADLAMP-LED,HEAT BLUE CONTRAST LAYERI,2QF ,8X1,RH
main85353-76020-J4i202008-202105
HEADLAMP-LED & WITH(AUTOMATIC HIGH BEAM),CELESTIAL BLUE GF.,8Y6,RH; HEADLAMP-LED,CELESTIAL BLUE GF.,8Y6,RH
main85354-76010-A0i201012-201312
HEAD LAMP-LED,WHITE PEARL CS.,077,LH
main85354-76010-A1i201208-201312
HEAD LAMP-LED,WHITE NOVA GF.,083,LH
main85354-76010-B0i201012-201208
HEAD LAMP-LED,SILVER M.M.,1G1,LH
main85354-76010-B1i201108-201312
HEAD LAMP-LED,MERCURY GRAY MC.,1H9,LH
main85354-76010-B2i201012-201111
HEAD LAMP-LED,DK.GRAY MC.,1G0,LH
main85354-76010-B3i201208-201312
HEAD LAMP-LED,PLATINUM SILVER ME.,1J4,LH
main85354-76010-C0i201012-201312
HEAD LAMP-LED,BLACK,212,LH
main85354-76010-C1i201012-201312
HEAD LAMP-LED,BLACK OPAL MC.,214,LH
main85354-76010-D0i201012-201312
HEAD LAMP-LED,RED MC.CS.,3R1,LH
main85354-76010-E0i201012-201312
HEAD LAMP-LED,FIRE AGATE M.M.,4V3,LH
main85354-76010-F0i201012-201312
HEAD LAMP-LED,FLARE YELLOW M.M.,5B1,LH
main85354-76010-J0i201012-201312
HEAD LAMP-LED,BLUE ME.,8U1,LH
main85354-76010-J1i201012-201208
HEAD LAMP-LED,SILVERY BLUE ME.,8U9,LH
main85354-76020-E2i201708-202008
HEADLAMP-LED & WITH(AUTOMATIC HIGH BEAM),LAVA ORANGE CS.,2QE ,4W7,LH; HEADLAMP-LED,LAVA ORANGE CS.,2QE ,4W7,LH
main85354-76020-E3i202008-202108
HEADLAMP-LED & WITH(AUTOMATIC HIGH BEAM),BLAZING CARNELIAN CONTRAS,4Y1,LH; HEADLAMP-LED,BLAZING CARNELIAN CONTRAS,4Y1,LH
main85354-76020-G0i202008-202105
HEADLAMP-LED & WITH(AUTOMATIC HIGH BEAM),TERRANE KHAKI M.M.,6X4,LH; HEADLAMP-LED,TERRANE KHAKI M.M.,6X4,LH
main85354-76020-J3i201708-202105
HEADLAMP-LED & WITH(AUTOMATIC HIGH BEAM),HEAT BLUE CONTRAST LAYERI,2QF ,8X1,LH; HEADLAMP-LED,HEAT BLUE CONTRAST LAYERI,2QF ,8X1,LH
main85354-76020-J4i202008-202105
HEADLAMP-LED & WITH(AUTOMATIC HIGH BEAM),CELESTIAL BLUE GF.,8Y6,LH; HEADLAMP-LED,CELESTIAL BLUE GF.,8Y6,LH
85348AJOINT, HEADLAMP CLEANER HOSE, NO.1
main90075-17002supersedes 90075-17012i201012-201312
COLD AREA SPEC&HEAD LAMP-LED; COLD AREA SPEC&REAR WINDOW WIPER-WITH&HEAD LAMP-LED; HEAD LAMP-LED; REAR WINDOW WIPER-WITH&HEAD LAMP-LED
main90075-17012i201708-202105
COLD AREA SPEC&HEADLAMP-LED; COLD AREA SPEC&HEADLAMP-LED & WITH(AUTOMATIC HIGH BEAM); COLD AREA SPEC&REAR WINDOW WIPER-WITH&HEADLAMP-LED; COLD AREA SPEC&REAR WINDOW WIPER-WITH&HEADLAMP-LED & WITH(AUTOMATIC HIGH BEAM); HEADLAMP-LED; HEADLAMP-LED & WITH(AUTOMATIC HIGH BEAM); REAR WINDOW WIPER-WITH&HEADLAMP-LED; REAR WINDOW WIPER-WITH&HEADLAMP-LED & WITH(AUTOMATIC HIGH BEAM)
85348BJOINT, HEADLAMP CLEANER HOSE, NO.2
main90075-17005i201012-201312
HEAD LAMP-LED
85348KJOINT, HEADLAMP CLEANER ELBOW, NO.1
main90075-17007supersedes 90075-17010i201012-201312
HEAD LAMP-LED
main90075-17010i201708-202105
HEADLAMP-LED; HEADLAMP-LED & WITH(AUTOMATIC HIGH BEAM)
85348LJOINT, HEADLAMP CLEANER ELBOW, NO.2
main90075-17001×2supersedes 90075-17011i201012-201312
HEAD LAMP-LED
main90075-17011×3i201708-202105
HEADLAMP-LED; HEADLAMP-LED & WITH(AUTOMATIC HIGH BEAM)
85350AJOINT, HEADLAMP CLEANER ELBOW, NO.3
main90075-17004supersedes 90075-17013i201012-201312
HEAD LAMP-LED
main90075-17013×2i201708-202105
HEADLAMP-LED; HEADLAMP-LED & WITH(AUTOMATIC HIGH BEAM)
85371BHOSE, HEADLAMP CLEANER (FROM MOTOR TO JOINT)
main90075-15059i201012-201312
L=80,COLD AREA SPEC&HEAD LAMP-LED; L=80,COLD AREA SPEC&REAR WINDOW WIPER-WITH&HEAD LAMP-LED; L=80,HEAD LAMP-LED; L=80,REAR WINDOW WIPER-WITH&HEAD LAMP-LED
8271116820WIRE, FUSE TO FUSE(FOR COMBUSTION HEATER)
8271116830WIRE, FUSE TO FUSE(FOR COMBUSTION HEATER)
9007591002

21 parts on this diagram · 2 diagrams in section

HEADLAMP CLEANER — Toyota Parts Diagram with OEM Numbers & Prices | EPC Data