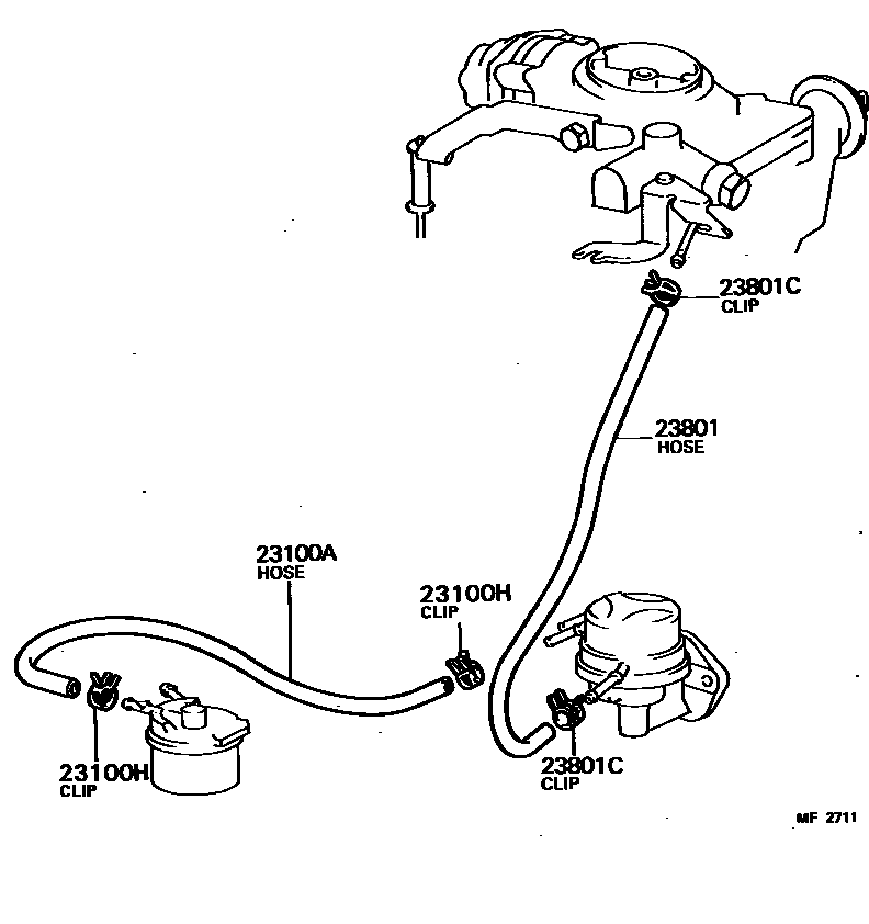
FUEL PIPE & CLAMP

23100AHOSE, FUEL
*H,L=280
*H,L=360
23100HCLIP(FOR FUEL HOSE)
23801PIPE OR HOSE SUB-ASSY, CARBURETOR FUEL, NO.1
L=300
23801CCLIP(FOR CARBURETOR FUEL HOSE)
4 parts on this diagram · 1 diagram in section

4 parts on this diagram · 1 diagram in section