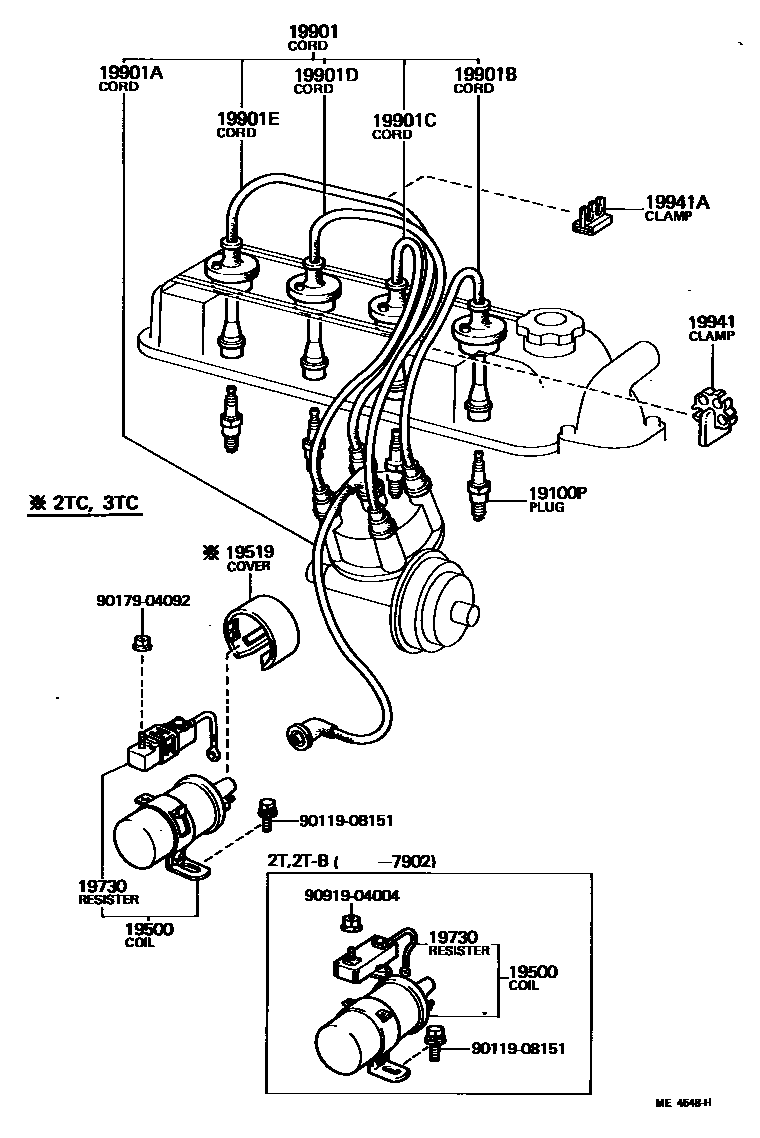
IGNITION COIL & SPARK PLUG / GLOW PLUG

19100PPLUG, SPARK
W16EPR OR W16EXR-U,W16EPR
W16EX-U,W16EX-U
W16EXR-U,W16EXR-U
19500COIL ASSY, IGNITION
19519COVER, IGNITION COIL
19730RESISTOR, IGNITION COIL
19901CORD SET, COIL & SPARK, W/RESISTIVE
19901ACORD, COIL RESISTIVE
19901BCORD, SPARK PLUG RESISTIVE, NO.1
19901CCORD, SPARK PLUG RESISTIVE, NO.2
19901DCORD, SPARK PLUG RESISTIVE, NO.3
19901ECORD, SPARK PLUG RESISTIVE, NO.4
19941CLAMP, RESISTIVE CORD, NO.1
19941ACLAMP(FOR RESISTIVE CORD)
9011908151
main90119-08151
9017904092
main90179-04092
9091904004
main90919-04004
15 parts on this diagram · 1 diagram in section