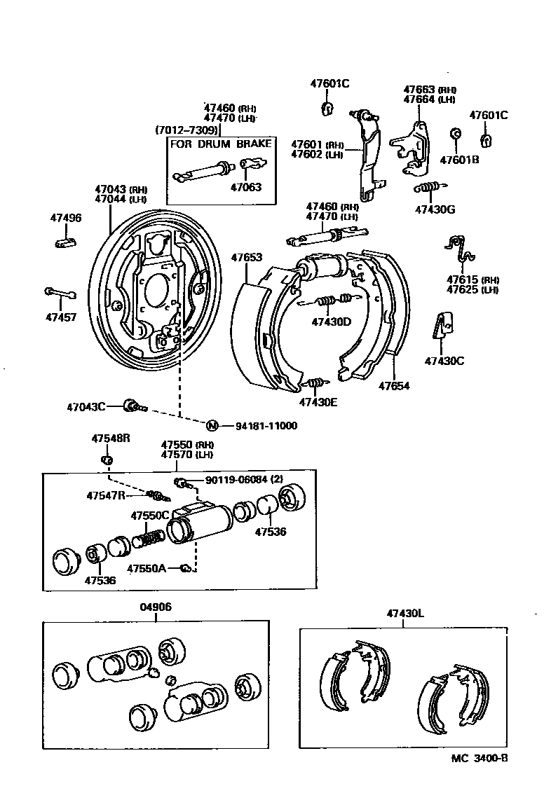
REAR DRUM BRAKE WHEEL CYLINDER & BACKING PLATE

04906CUP KIT, REAR WHEEL CYLINDER
ID=19.05 W/C
ID=17.46 W/C
47043PLATE SUB-ASSY, BRAKE BACKING, REAR RH
FOR W/AUTO ADJUSTER
FOR W/AUTO ADJUSTER
FOR L/AUTO ADJUSTER
FOR L/AUTO ADJUSTER
47043CBOLT(FOR BACKING PLATE TO REAR AXLE HOUSING SETTING)
*10-1.25PX37-15
*10-1.25PX26-10
47044PLATE SUB-ASSY, BRAKE BACKING, REAR LH
FOR W/AUTO ADJUSTER
FOR W/AUTO ADJUSTER
FOR L/AUTO ADJUSTER
FOR L/AUTO ADJUSTER
47063PIECE SUB-ASSY, PARKING BRAKE SHOE
47430CSPRING(FOR REAR BRAKE SHOE HOLD DOWN)
47430DSPRING, TENSION(FOR REAR BRAKE SHOE RETURN)
47430ESPRING, TENSION(FOR REAR BRAKE SHOE RETURN)
47430GSPRING, TENSION(FOR REAR BRAKE AUTOMATIC ADJUST LEVER)
47430LSHOE KIT, REAR BRAKE
FOR DISC BRAKE
FOR DRUM BRAKE
47457PIN, SHOE HOLD DOWN SPRING(FOR REAR BRAKE)
47460ADJUSTER ASSY, SHOE, RH(FOR REAR BRAKE)
FOR L/AUTO ADJUSTER
FOR L/AUTO ADJUSTER
AUTO ADJUSTER
AUTO ADJUSTER
47470ADJUSTER ASSY, SHOE, LH(FOR REAR BRAKE)
FOR L/AUTO ADJUSTER
FOR L/AUTO ADJUSTER
AUTO ADJUSTER
AUTO ADJUSTER
47496PLUG, HOLE(FOR REAR BRAKE)
FOR W/AUTO ADJUSTER
FOR L/AUTO ADJUSTER
L/AUTO ADJUSTER
47536PISTON, WHEEL BRAKE CYLINDER(FOR REAR BRAKE)
FOR FRONT DISC BRAKE
FOR FRONT DRUM BRAKE
FOR FRONT DRUM BRAKE
OD=17.46
0D=19.05
0D=19.05
47547RPLUG, BLEEDER(FOR DRUM BRAKE, REAR)
47548RCAP, BLEEDER PLUG(FOR DRUM BRAKE, REAR)
47550CYLINDER ASSY, REAR WHEEL BRAKE(FOR RH, FRONT OR UPPER)
FOR FRONT DRUM BRAKE
ID=17.46
ID=19.05
ID=19.05
47550ASEAT, UNION(FOR REAR WHEEL BRAKE CYLINDER)
47550CSPRING, COMPRESSION(FOR REAR WHEEL BRAKE CYLINDER)
ID=19.05 W/C
ID=17.46 W/C
FOR FRONT DRUM BRAKE
47570CYLINDER ASSY, REAR WHEEL BRAKE(FOR LH, FRONT OR UPPER)
FOR FRONT DISC BRAKE
FOR FRONT DRUM BRAKE
ID=17.46
ID=19.05
ID=19.05
47601LEVER SUB-ASSY, PARKING BRAKE SHOE, RH(FOR REAR BRAKE)
47601BSHIM, REAR PARKING BRAKE SHOE LEVER
T=0.3,T=0.285-0.315
T=0.6,T=0.570-0.630
T=0.9,T=0.855-0.945
T=0.2,T=0.19-0.21
47601CWASHER, C(FOR REAR BRAKE)
T=1.2
47602LEVER SUB-ASSY, PARKING BRAKE SHOE, LH (FOR REAR BRAKE)
47615SPRING, REAR BRAKE STRUT ANTI-RATTLE, RH
47625SPRING, REAR BRAKE STRUT ANTI-RATTLE, LH
47653LINING, REAR BRAKE SHOE(FOR FRONT OR UPPER)
FOR DISC BRAKE
FOR DRUM BRAKE
47654LINING, REAR BRAKE SHOE(FOR REAR OR LOWER)
FOR DISC BRAKE
FOR DRUM BRAKE
47663LEVER, AUTOMATIC ADJUST, RH(FOR REAR BRAKE)
47664LEVER, AUTOMATIC ADJUST, LH(FOR REAR BRAKE)
9011906084
main90119-06084
9418111000
main94181-11000
33 parts on this diagram · 1 diagram in section