E
EPC Data

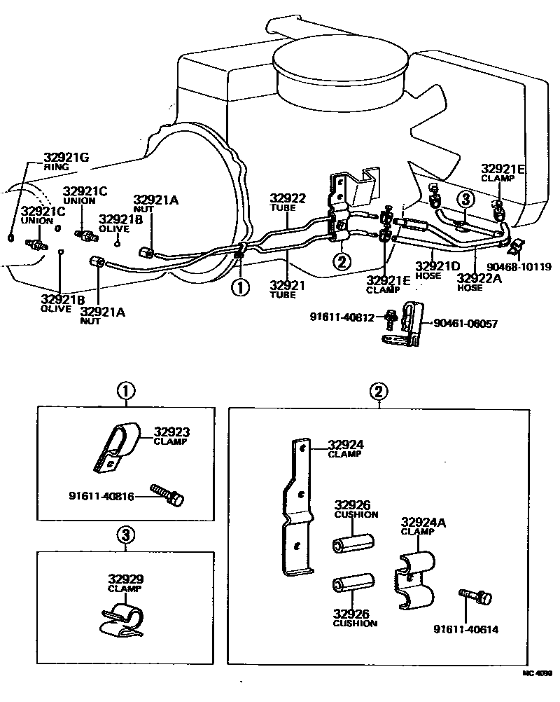
OIL COOLER & TUBE (ATM)

Parts diagram
32921TUBE, OIL COOLER INLET, NO.1
main32921-12030i197308-197707
main32921-14010i197012-197308
32921ANUT, UNION(FOR OIL COOLER TUBE)
main90402-13041×2i197012-197707
32921BOLIVE(FOR OIL COOLER TUBE)
main96395-71400×2i197012-197707
32921CUNION(FOR OIL COOLER TUBE)
main90404-13105×2i197012-197308
main90404-13265×2i197308-197707
32921DHOSE(FOR OIL COOLER INLET)
main32941-14010i197208-197509
main32941-14012i197510-197707
main90445-14613i197012-197207
L=765
32921ECLAMP, HOSE(FOR OIL COOLER)
main90460-01075×4i197012-197707
32921GRING, O(FOR OIL COOLER TUBE UNION)
main90301-10189×2i197308-197707
32922TUBE, OIL COOLER OUTLET, NO.1
main32922-12030i197308-197707
main32922-14010i197012-197308
32922AHOSE(FOR OIL COOLER OUTLET)
main32942-14010i197208-197509
main32942-14012i197510-197707
main90445-14507i197012-197207
L=520
32923CLAMP, AUTOMATIC TRANSMISSION OIL COOLER TUBE
main90461-08039i197510-197707
main90461-08537i197012-197509
32924CLAMP, OIL COOLER TUBE, NO.2
main32924-14010i197012-197707
32924ACLAMP(FOR OIL COOLER TUBE, NO.2)
main90462-12085i197012-197707
32926CUSHION, OIL COOLER TUBE(ATM)
main32926-30011×2i197012-197707
L=25,ID=8
32929CLAMP, FLEXIBLE HOSE, NO.2
main90463-06267×2i197012-197509
9046106057
9046810119
9161140614
9161140812
9161140816

19 parts on this diagram · 1 diagram in section

OIL COOLER & TUBE (ATM) — Toyota Parts Diagram with OEM Numbers & Prices | EPC Data