E
EPC Data

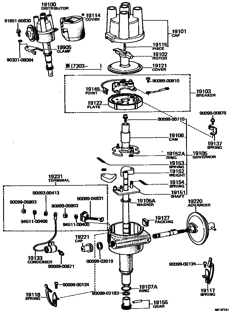
DISTRIBUTOR

Parts diagram
19100DISTRIBUTOR ASSY
main19100-25010i197012-197101
main19100-25011i197101-197307
main19100-25012i197404-197509
main19100-25030i197404-197509
main19100-26021i197208-197307
main19100-26022i197307-197509
main19100-26161i197510-197707
main19100-26210i197510-197707
19101CAP SUB-ASSY, DISTRIBUTOR
main19101-33011i197012-197101
main19101-33012i197101-197403
main19101-33013i197403-197509
19102ROTOR SUB-ASSY, DISTRIBUTOR
main19102-33011i197012-197101
main19102-33012i197101-197707
19103BREAKER SUB-ASSY, DISTRIBUTOR
main19103-33011i197012-197209
main19103-33012i197209-197310
main19103-33013i197310-197707
19105GOVERNOR SUB-ASSY
main19105-25010i197012-197102
main19105-25011i197102-197307
main19105-25012i197404-197509
main19105-25030i197404-197509
main19105-26021i197208-197307
main19105-26022i197307-197707
main19105-26190i197510-197707
19105AWASHER(FOR GOVERNOR SHAFT THRUST)
main90099-01385i197012-197707
T=2.5,T=2.5
main90099-01386i197012-197707
T=2.7,T=2.7
main90099-01387i197012-197707
T=2.9,T=2.9
main90099-01412i197307-197707
T=2.3,T=2.3
19106CAM SUB-ASSY, DISTRIBUTOR
main19106-25010i197012-197307
main19106-26022i197307-197707
main19106-34090i197404-197509
main19106-38011i197510-197707
main19106-88220i197404-197509
19107ARING, O, DISTRIBUTOR HOUSING
main90099-14020i197012-197707
19114COVER, WATER PROOF(FOR DISTRIBUTOR)
main19114-25010i197303-197509
main19114-25011i197510-197707
ARCTIC
19115PIECE, DISTRIBUTOR CAP, CENTER
main19115-50010i197101-197707
19117SPRING, DISTRIBUTOR CAP, A
main19117-33011i197012-197707
19118SPRING, DISTRIBUTOR CAP, B
main19118-33011i197012-197707
19121COVER, DUST PROOF
main19121-33011i197012-197707
19122PLATE, STATIONARY, DISTRIBUTOR
main19122-33011i197012-197209
main19122-33012i197209-197310
main19122-33013i197310-197707
19127PACKING, DUST PROOF
main19127-25010×2i197012-197404
main19127-88227×2i197510-197707
19133CONDENSER, DISTRIBUTOR
main90099-52050i197012-197707
19137SPRING SUB-ASSY, DAMPER
main19137-33011i197012-197707
19145POINT, DISTRIBUTOR
main19145-26060i197012-197707
19151SHAFT, GOVERNOR
main19151-25010i197012-197102
main19151-25011i197102-197707
19152WEIGHT, GOVERNOR
main19152-33011×2i197012-197405
main19152-45060×2i197405-197707
19152ARING, SNAP(FOR GOVERNOR WEIGHT)
main90099-07011×2i197012-197707
19153SPRING, GOVERNOR, A
main19153-25010i197012-197307
main19153-25012i197307-197404
main19153-25030i197404-197509
main19153-25070i197510-197707
main19153-26020i197208-197307
main19153-26022i197307-197707
19154SPRING, GOVERNOR, B
main19153-25012i197307-197404
main19154-25010i197012-197307
main19154-25030i197404-197509
main19154-26020i197208-197307
main19154-26022i197307-197707
main19154-26190i197510-197707
19155GEAR, SPIRAL, DISTRIBUTOR
main19195-25010i197012-197108
main19195-25011i197108-197707
19220ADVANCER ASSY, VACUUM, DISTRIBUTOR
main19220-25010i197012-197509
main19220-26020i197208-197509
main19220-26021i197510-197707
main19220-26190i197510-197707
19221CAP, ADJUSTER, DISTRIBUTOR
main19221-30030i197012-197707
19231TERMINAL, DISTRIBUTOR
main19231-25060i197510-197707
main19231-33011i197012-197509
19905CLAMP SUB-ASSY, DISTRIBUTOR
main19955-25010i197012-197509
9009300413
9009900124
9009900710
9009900810
9009900871
9009900878
9009902019
9009902183
9009904831
9009905803
9020108084
9165160830
9451100400

41 parts on this diagram · 2 diagrams in section

DISTRIBUTOR — Toyota Parts Diagram with OEM Numbers & Prices | EPC Data