E
EPC Data

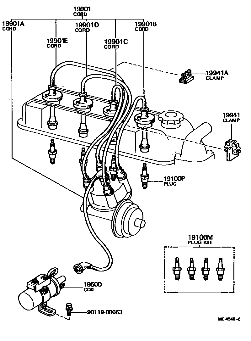
IGNITION COIL & SPARK PLUG / GLOW PLUG

Parts diagram
19100MPLUG KIT, SPARK
main04195-34010i197208-197509
W16EP
main04195-34020i197012-197207
W20EP
19100PPLUG, SPARK
main90919-01027×4i197208-197509
W16EP OR W16EX-U,W16EP
main90919-01051×4i197510-197707
W16EPR OR W16EXR-U,W16EPR
main90999-09001×4i197012-197207
W20EP
19500COIL ASSY, IGNITION
main90919-02014i197012-197303
main90919-02022i197303-197707
19901CORD SET, COIL & SPARK, W/RESISTIVE
main90919-21002i197208-197707
main90919-21021i197012-197210
main90919-21023i197012-197210
ARCTIC
main90919-21048i197210-197304
ARCTIC
main90919-21050i197210-197304
main90919-21057i197304-197309
main90919-21059i197309-197707
19901ACORD, COIL RESISTIVE
main90919-13023i197308-197509
main90919-13026i197510-197707
main99231-20320i197012-197210
main99232-20340i197210-197308
19901BCORD, SPARK PLUG RESISTIVE, NO.1
main90919-12055i197304-197309
main90919-12067i197012-197210
main90919-12076i197210-197309
19901CCORD, SPARK PLUG RESISTIVE, NO.2
main90919-12056i197304-197309
main90919-12067i197012-197309
19901DCORD, SPARK PLUG RESISTIVE, NO.3
main90919-12057i197012-197304
main90919-12065i197208-197210
main90919-12070i197012-197210
main90919-12078i197304-197309
19901ECORD, SPARK PLUG RESISTIVE, NO.4
main90919-12058i197012-197309
main90919-12066i197012-197707
main90919-12080i197309-197707
19941CLAMP, RESISTIVE CORD, NO.1
main90464-00002i197208-197707
main90464-00009i197012-197310
main90464-00053i197310-197707
19941ACLAMP(FOR RESISTIVE CORD)
main90464-00001i197012-197707
9011908063

12 parts on this diagram · 1 diagram in section

IGNITION COIL & SPARK PLUG / GLOW PLUG — Toyota Parts Diagram with OEM Numbers & Prices | EPC Data