E
EPC Data

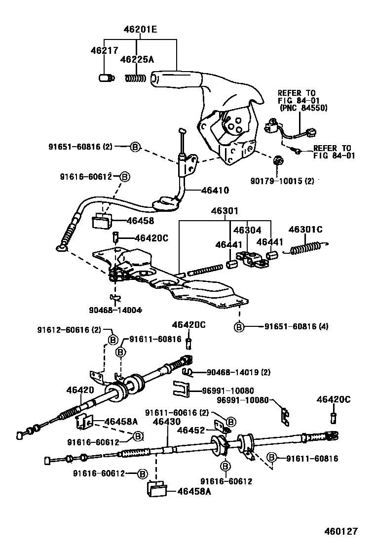
PARKING BRAKE & CABLE

Parts diagram
46201ELEVER SUB-ASSY, PARKING BRAKE
main46201-17050-01i198912-199001
BLACK,TRIM2#
main46201-17050-04i198912-199001
DARK BLUE,TRIM8#
main46201-17051-01i199001-199112
BLACK,TRIM2#
main46201-17051-04i199001-199112
DARK BLUE,TRIM8#
main46201-17070-01i198912-199001
BLACK,TRIM2#; LEATHER,BLACK,TRIM2#
main46201-17070-04i198912-199001
DARK BLUE,TRIM8#; LEATHER,DARK BLUE,TRIM8#
main46201-17071-01i199001-199112
BLACK,TRIM2#; LEATHER,BLACK,TRIM2#
main46201-17071-04i199112-199311
DARK BLUE,TRIM8#
46217KNOB, PARKING BRAKE RELEASE ROD
main46217-17010-01i198912-199201
BLACK,TRIM2#
main46217-17010-04i198912-199311
DARK BLUE,TRIM8#
main46217-17010-C0i199201
BLACK,TRIM2#
46225ASPRING, COMPRESSION(FOR PARKING BRAKE PAWL ROD)
main90504-12005i198912
46301LEVER SUB-ASSY, PARKING BRAKE INTERMEDIATE
main46320-17020i198912
46301CSPRING, TENSION(FOR INTERMEDIATE LEVER)
main90506-18064i198912
46304EQUALIZER SUB-ASSY, PARKING BRAKE
main46304-17020i198912
46410CABLE ASSY, PARKING BRAKE, NO.1
main46410-17040i198912
46420CABLE ASSY, PARKING BRAKE, NO.2
main46420-17050i198912-199112
main46420-17070i199112
46420CPIN, W/HOLE(FOR PARKING BRAKE CABLE)
main90240-08040×3i198912
46430CABLE ASSY, PARKING BRAKE, NO.3
main46430-17050i198912-199112
main46430-17070i199112
46441NUT, WIRE ADJUSTING, NO.1
main46441-30030×2i198912
46452BRACKET, PARKING BRAKE CABLE SUPPORT, NO.2
main46452-17060i198912
46458RETAINER, CABLE
main46458-28010i199112
main46458-50010i198912-199112
46458ARETAINER, CABLE
main46458-28010×2i199112
main46458-50010×2i198912-199112
8401SWITCH & RELAY & COMPUTER
9017910015
9046814004
9046814019
9161160616
9161160816
9161260616
9161660612
9165160816
9699110080

24 parts on this diagram · 1 diagram in section

PARKING BRAKE & CABLE — Toyota Parts Diagram with OEM Numbers & Prices | EPC Data