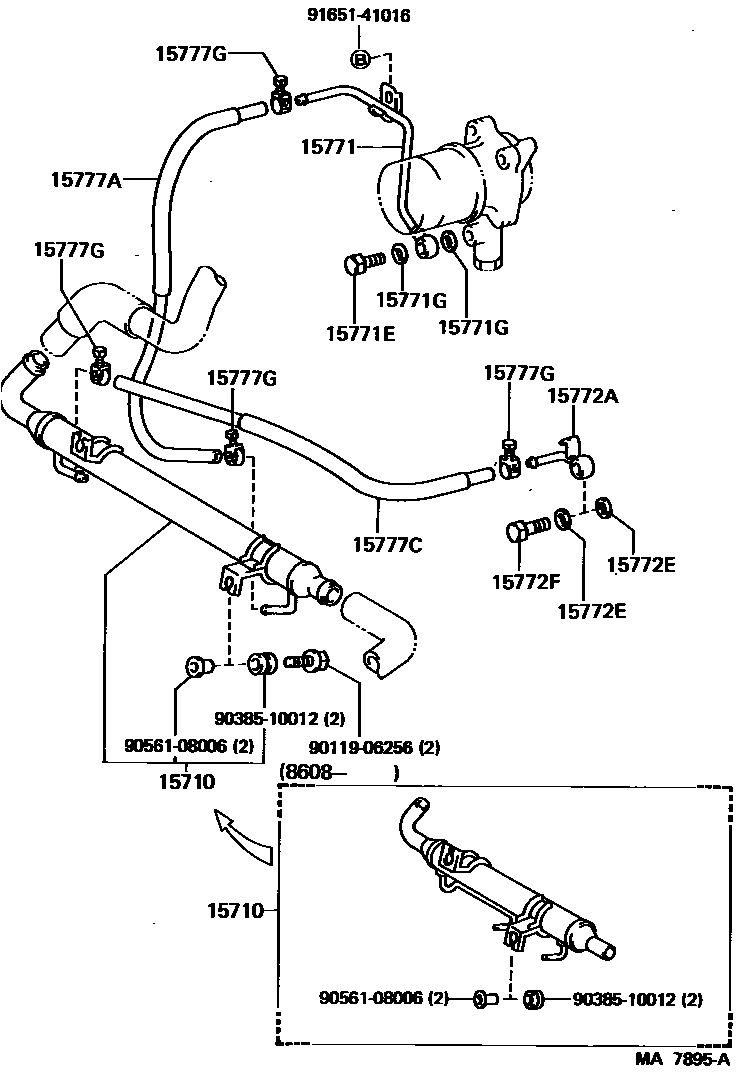
ENGINE OIL COOLER

15771PIPE, OIL, NO.1
15771EBOLT, UNION(FOR OIL PIPE)
15771GGASKET
15772AUNION(FOR OIL PIPE)
15772EGASKET(FOR OIL PIPE)
15772FBOLT, UNION(FOR OIL PIPE)
15777AHOSE, OIL COOLER
15777CHOSE, OIL COOLER
W/*AAC
15777GCLAMP OR CRIP, HOSE
9011906256
main90119-06256
9038510012
main90385-10012
9056108006
main90561-08006
9165141016
main91651-41016
14 parts on this diagram · 1 diagram in section