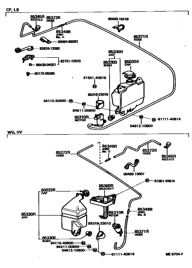
REAR WASHER

85033RCAP ASSY, REAR WASHER
BLACK,BLACK,TRIM0#,2#
BLUE,BLUE,TRIM8#
DARK BROWN,BROWN,TRIM4#
85310RMOTOR ASSY, REAR WASHER
85330RJAR ASSY, REAR WASHER
85330SBUSH, REAR WASHER JAR
85345RNOZZLE, REAR WASHER
85348RJOINT, REAR WASHER HOSE, NO.1
NO.2
NO.1
85360RBRACKET ASSY, REAR WASHER
85371RHOSE, REAR WASHER (FROM MOTOR TO JOINT)
L=2000,*H,L=1620
L=1000(*H,L=500)
L=1000(*H,L=500)
85372RHOSE, REAR WASHER (FROM JOINT TO JOINT OR NOZZLE)
L=1450(*H,L=900)
L=1000(*H,L=900)
L=1800(*H,L=900)
85373RHOSE, REAR WASHER (FROM JOINT TO NOZZLE)
L=1000(*H,L=400)
8275112010BLOCK, DRIVER SIDE RELAY
main82751-12010
8281912080GROMMET, WIRING HARNESS
main82819-12080
8531623010SUPPORT, WINDSHIELD WASHER MOTOR
main85316-23010
9017905095
main90179-05095
9043004001
main90430-04001
9046315419
main90463-15419
9046400201
main90464-00201
9048013007
main90480-13007
9111140614
main91111-40614
9111140616
main91111-40616
9165140614
main91651-40614
9165140616
main91651-40616
9411040600
main94110-40600
9411050600
main94110-50600
9451100600
main94511-00600
9461210600
main94612-10600
9461310600
main94613-10600
27 parts on this diagram · 1 diagram in section