RADIATOR GRILLE

5201
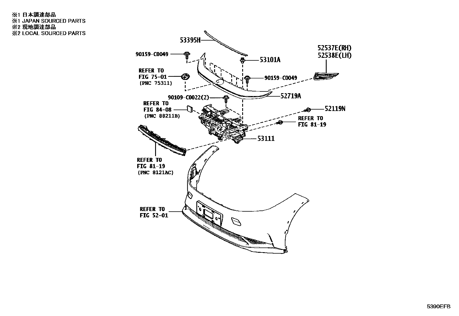
52537ERETAINER, FRONT BUMPER END, RH
52538ERETAINER, FRONT BUMPER END, LH
52719ACOVER, FRONT BUMPER MOULDING
53101ACLIP, RADIATOR GRILLE
BLACK,(L)
53111GRILLE, RADIATOR
NO PAINT REQ.
53395HSEAL, HOOD TO RADIATOR GRILLE
7501
8119
8408
90109C0022
main90109-C0022
90159C0049
main90159-C0049
13 parts on this diagram · 1 diagram in section