E
EPC Data

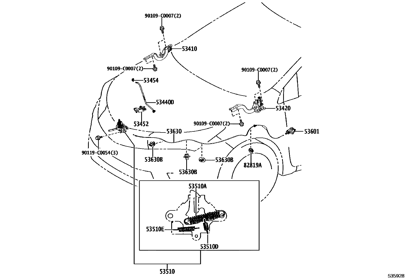
HOOD LOCK & HINGE

Parts diagram
53410HINGE ASSY, HOOD, RH
main53410-02450i201904
53420HINGE ASSY, HOOD, LH
main53420-02450i201904
53440DSUPPORT ASSY, HOOD
main53440-02251i201904
53452HOLDER, HOOD STAY
main53452-02210i201904
53454CLIP, HOOD SUPPORT ROD
main53454-02040i201904
53510LOCK ASSY, HOOD
main53510-02760i201904
53510ASPRING, TENSION(FOR HOOD LOCK)
main90506-18067i201904
WD=1.8,CW=13
53510DSPRING, TENSION(FOR HOOD LOCK)
main90506-12063i201904
WD=1.2,CW=8.5
53510ESPRING, TENSION(FOR HOOD LOCK)
main90506-09055i201904
WD=0.9,CW=21
53601LEVER SUB-ASSY, HOOD LOCK CONTROL
main53601-0D061-C0i201904
BLACK,TRIM2#,4#
53630CABLE ASSY, HOOD LOCK CONTROL
main53630-02441i201904
53630BCLAMP(FOR HOOD LOCK CONTROL CABLE)
main90469-C0008×3i201904
82819AGROMMET, WIRE
main82817-02T80i201904
90109C0007
90119C0054

15 parts on this diagram · 1 diagram in section

HOOD LOCK & HINGE — Toyota Parts Diagram with OEM Numbers & Prices | EPC Data