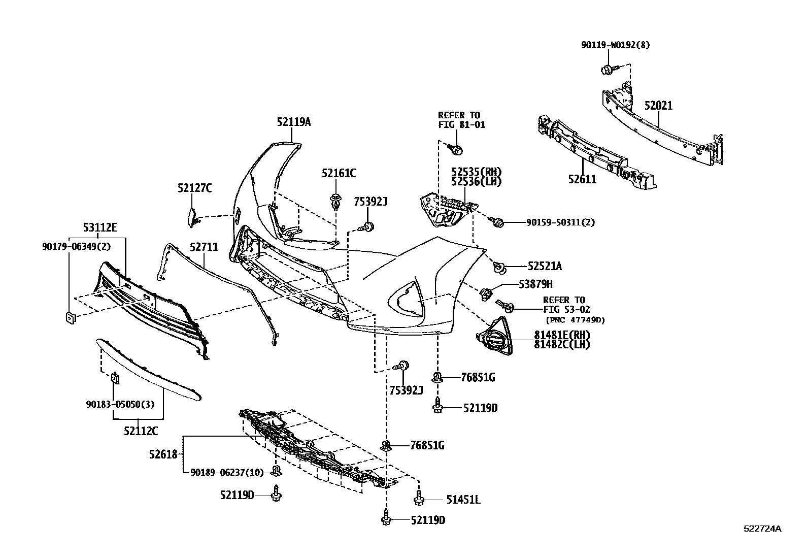
FRONT BUMPER & BUMPER STAY

52021REINFORCEMENT SUB-ASSY, FRONT BUMPER
52112CEXTENSION, FRONT BUMPER
52119ACOVER, FRONT BUMPER
PAINT REQ.
PAINT REQ.
52521ACLIP(FOR FRONT BUMPER RETAINER)
52535RETAINER, FRONT BUMPER SIDE, RH
52536RETAINER, FRONT BUMPER SIDE, LH
52618ABSORBER, FRONT BUMPER, LOWER
52711MOULDING, FRONT BUMPER
NO PAINT REQ.
NO PAINT REQ.
5302
53112EGRILLE, RADIATOR, LOWER NO.1
NO PAINT REQ.
NO PAINT REQ.
53879HRETAINER, FRONT FENDER LINER
75392JRETAINER, OUTSIDE MOULDING
76851GGROMMET, SCREW, NO.1
8101
90119W0192
main90119-W0192
9015950311
main90159-50311
9017906349
main90179-06349
9018305050
main90183-05050
9018906237
main90189-06237
26 parts on this diagram · 2 diagrams in section