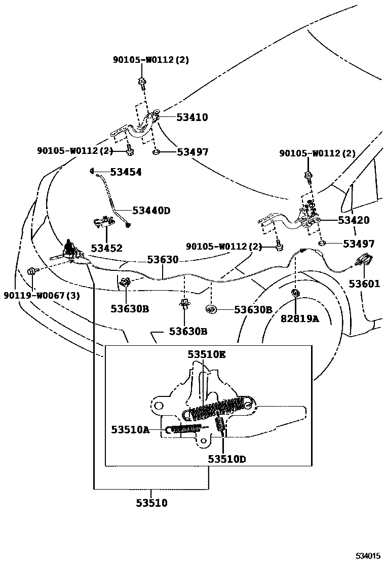
HOOD LOCK & HINGE

53410HINGE ASSY, HOOD, RH
53420HINGE ASSY, HOOD, LH
53452HOLDER, HOOD STAY
53454CLIP, HOOD SUPPORT ROD
53497PAD, HOOD HINGE, NO.1
T=1.0
T=1.0
T=2.0
53510ASPRING, TENSION(FOR HOOD LOCK)
WD=0.9,CW=20.75
53510DSPRING, TENSION(FOR HOOD LOCK)
WD=1.0,CW=15.5
53510ESPRING, TENSION(FOR HOOD LOCK)
WD=1.8,CW=13
53601LEVER SUB-ASSY, HOOD LOCK CONTROL
BLACK,TRIM0#,2#
main53601-05030-C1iZRE181..CVT..N..GEN..SAP; ZRE181..D..SAP;ZRE181..CVT..SA;ZRE181..6F..N..SAP;NDE180,NRE180,ZRE182..SAP201805-201912
EU BLACK,TRIM02,20; EU BLACK,TRIM20
BLACK,TRIM2#; BLACK,TRIM2#,3#
53630CABLE ASSY, HOOD LOCK CONTROL
53630BCLAMP(FOR HOOD LOCK CONTROL CABLE)
82819AGROMMET, WIRE
90105W0112
main90105-W0112
90119W0067
main90119-W0067
16 parts on this diagram · 2 diagrams in section