E
EPC Data

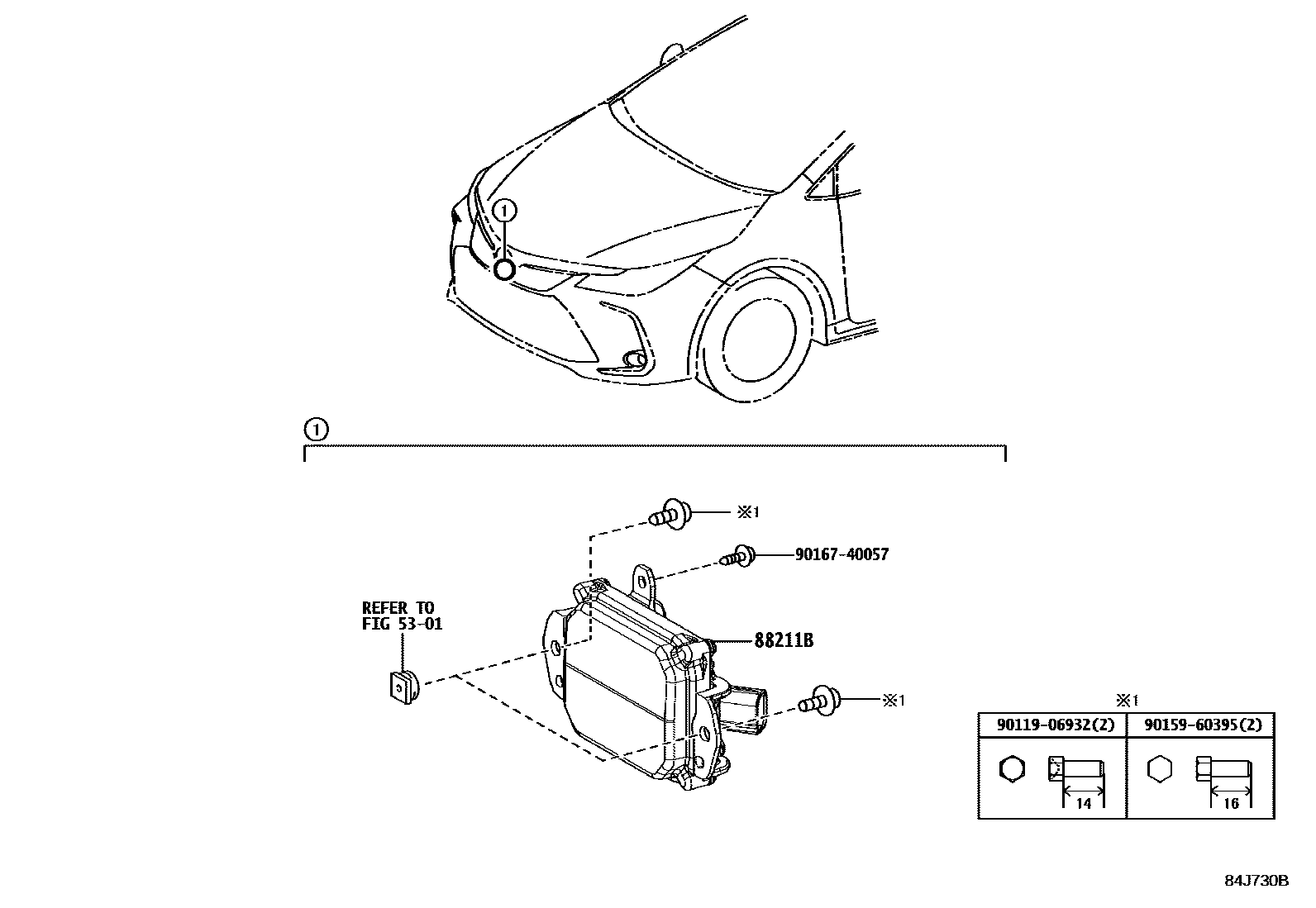
CRUISE CONTROL (AUTO DRIVE)

Parts diagram
5301RADIATOR GRILLE
88211BSENSOR ASSY, MILLIMETER WAVE RADAR
main88210-12110i202301-202306
TOYOTA SAFETY SENSE-WITH
main88210-12111i202307-202401
TOYOTA SAFETY SENSE-WITH
main88210-12140i202402
TOYOTA SAFETY SENSE-WITH; TOYOTA SAFETY SENSE-WITHOUT
main88210-33120i201901
CRUISE CONTROL-WITH; CRUISE CONTROL-WITH&STEERING SWITCH-WITH(DISPLAY & *CRC & *SLC); CRUISE CONTROL-WITH&STEERING SWITCH-WITH(DISPLAY & CRUISE CONTROL); CRUISE CONTROL-WITHOUT&STEERING SWITCH-WITH; CRUISE CONTROL-WITHOUT&STEERING SWITCH-WITHOUT; ISRAEL SPEC&CRUISE CONTROL-WITHOUT; TOYOTA SAFETY SENSE-WITH; TOYOTA SAFETY SENSE-WITHOUT; TURKEY SPEC&CRUISE CONTROL-WITHOUT
9011906932
9015960395
9016740057

5 parts on this diagram · 1 diagram in section

CRUISE CONTROL (AUTO DRIVE) — Toyota Parts Diagram with OEM Numbers & Prices | EPC Data