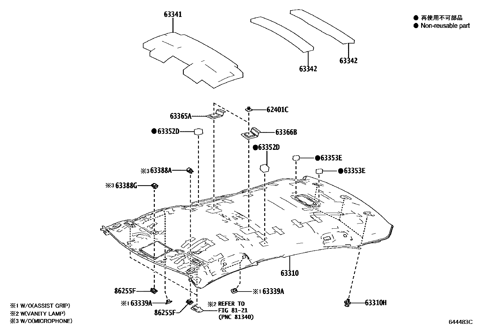
ROOF HEADLINING & SILENCER PAD

62401CFASTENER, HOOK
main90530-20022×6iMZEA11,ZRE211,ZWE211,213..G..(EUR,GCC,GEN); MZEA11,ZWE211,213..G..EUR; ZWE211,213..LHD..N..EUR; ZWE211,213..N;MZEA11,ZRE211..RHD;ZRE210..CVT..N..GCC;ZRE210..6F..N..(GCC,GEN)201901
MOON ROOF-WITH; MOON ROOF-WITH&SUN VISOR-*DRP(VANITY MIRROR & LAMP); TURKEY SPEC&MOON ROOF-WITH; TURKEY SPEC&MOON ROOF-WITH&SUN VISOR-*DRP(VANITY MIRROR & LAMP); UKRAINE SPEC&MOON ROOF-WITH&SUN VISOR-*DRP(VANITY MIRROR & LAMP)
63310HEADLINING ASSY, ROOF
main63310-02M70-A0supersedes 63310-02N30-A0iMZEA11..D;ZRE210..LHD..D;ZRE210..N..GCC;ZRE210..RHD..GEN;ZRE211,ZWE213..N;ZWE211..N..(GCC,GEN);ZRE210..LHD..6F..N..GEN201901-202110
FROMAGE,TRIM0#,2#
main63310-02M71-A0supersedes 63310-02N31-A0iZRE210..6F..N..RUS; ZWE211..N..EUR; ZWE213..N;ZRE210..D..EUR;MZEA11,ZRE211..RHD;ZRE210..RHD..CVT..D;ZRE210..CVT..N..GCC;ZWE211..N..(GCC,GEN);ZRE210..6F..(GCC,GEN)202111
FROMAGE,TRIM0#,2#; FROMAGE,TRIM0#,20
main63310-02V10-A0iMZEA11,ZWE219..LHD..D..EUR; MZEA11..(D,N)..TUR;MZEA11..6F..N..EUR;ZWE219..N..(EUR,TUR); ZWE219..D..TUR;MZEA11..CVT..N..EUR202301-202402
FROMAGE,TRIM0#; FROMAGE,TRIM0#,2#; FROMAGE,TRIM0#,20
main63310-02V10-B1supersedes 63310-02V40-B1iZRE210..CVT..N..GEN;ZRE211..LHD..N..GEN; ZRE210..CVT..N..RUS; ZWE219..GEN;ZRE210..N..EUR202301
LT. GRAY,TRIM1#,2#; LT. GRAY,TRIM1#,21
main63310-02V20-A0supersedes 63310-02V10-A0iMZEA11,ZWE219..LHD..D..EUR; MZEA11..N..TUR;MZEA11..6F..N..EUR;ZWE219..N..(EUR,TUR); ZWE219..D..TUR;MZEA11..CVT..N..EUR202402
FROMAGE,TRIM0#; FROMAGE,TRIM0#,2#; FROMAGE,TRIM0#,20
main63310-02V20-B1supersedes 63310-02V50-B1iMZEA11..(D,N)..TUR;MZEA11..6F..N..EUR; ZWE219..D..TUR;MZEA11..CVT..N..EUR;ZWE219..N..(EUR,TUR)202402
LT. GRAY,TRIM1#,2#; LT. GRAY,TRIM1#,21
main63310-02M70-C1supersedes 63310-02N30-C1iZRE210..LHD..CVT..N..GEN;MZEA11,ZRE210,ZWE211..N..EUR; ZRE210..N..RUS202011-202110
BLACK,TRIM20
main63310-02M71-C1supersedes 63310-02N31-C1iZRE210..CVT..N..RUS; ZRE210..N..EUR;ZRE210..LHD..CVT..N..GEN202111-202301
BLACK,TRIM20
main63310-02M80-A0iZRE210..LHD..CVT..N..GEN;MZEA11,ZRE210,ZWE211..N..EUR; ZRE210..N..RUS; ZWE211..LHD..N..EUR202011-202110
GEORGIA SPEC&SUN VISOR-*DRP(VANITY MIRROR & LAMP),FROMAGE,TRIM0#,20; MOLDOVA SPEC&SUN VISOR-*DRP(VANITY MIRROR & LAMP),FROMAGE,TRIM0#,20; SUN VISOR-*DRP(VANITY MIRROR & LAMP),FROMAGE,TRIM0#,20; TURKEY SPEC&SUN VISOR-*DRP(VANITY MIRROR & LAMP),FROMAGE,TRIM0#,20; UKRAINE SPEC&SUN VISOR-*DRP(VANITY MIRROR & LAMP),FROMAGE,TRIM0#,20
main63310-02M80-C1iZRE210..LHD..CVT..N..GEN;MZEA11,ZRE210,ZWE211..N..EUR; ZRE210..N..RUS; ZWE211..LHD..N..EUR202011-202110
GEORGIA SPEC&SUN VISOR-*DRP(VANITY MIRROR & LAMP),BLACK,TRIM20; MOLDOVA SPEC&SUN VISOR-*DRP(VANITY MIRROR & LAMP),BLACK,TRIM20; SUN VISOR-*DRP(VANITY MIRROR & LAMP),BLACK,TRIM20; TURKEY SPEC&SUN VISOR-*DRP(VANITY MIRROR & LAMP),BLACK,TRIM20; UKRAINE SPEC&SUN VISOR-*DRP(VANITY MIRROR & LAMP),BLACK,TRIM20
main63310-02M81-A0iMZEA11,ZRE211,ZWE211,213..G..(EUR,GCC,GEN); ZRE210..6F..N..RUS; ZWE211..LHD..N..EUR; ZWE211..N..EUR; ZWE213..LHD..N; ZWE213..N;MZEA11,ZRE211..RHD;ZRE210..CVT..N..GCC;ZWE211..N..(GCC,GEN);ZRE210..6F..N..(GCC,GEN)202111
FROMAGE,TRIM0#,2#; GEORGIA SPEC&SUN VISOR-*DRP(VANITY MIRROR & LAMP),FROMAGE,TRIM0#,20; MOLDOVA SPEC&SUN VISOR-*DRP(VANITY MIRROR & LAMP),FROMAGE,TRIM0#,20; SUN VISOR-*DRP(VANITY MIRROR & LAMP),FROMAGE,TRIM0#,2#; SUN VISOR-*DRP(VANITY MIRROR & LAMP),FROMAGE,TRIM0#,20; TURKEY SPEC&SUN VISOR-*DRP(VANITY MIRROR & LAMP),FROMAGE,TRIM0#,2#; TURKEY SPEC&SUN VISOR-*DRP(VANITY MIRROR & LAMP),FROMAGE,TRIM0#,20; UKRAINE SPEC&SUN VISOR-*DRP(VANITY MIRROR & LAMP),FROMAGE,TRIM0#,2#; UKRAINE SPEC&SUN VISOR-*DRP(VANITY MIRROR & LAMP),FROMAGE,TRIM0#,20
GEORGIA SPEC&SUN VISOR-*DRP(VANITY MIRROR & LAMP),BLACK,TRIM20; MOLDOVA SPEC&SUN VISOR-*DRP(VANITY MIRROR & LAMP),BLACK,TRIM20; SUN VISOR-*DRP(VANITY MIRROR & LAMP),BLACK,TRIM20; TURKEY SPEC&SUN VISOR-*DRP(VANITY MIRROR & LAMP),BLACK,TRIM20; UKRAINE SPEC&SUN VISOR-*DRP(VANITY MIRROR & LAMP),BLACK,TRIM20
main63310-02N00-A0iMZEA11,ZRE211,ZWE21#..G; MZEA11,ZWE21#..G..EUR; MZEA11..RHD;MZEA11,ZRE21#,ZWE21#..N..(EUR,GCC,GEN); ZWE211,213..LHD..N..EUR201901-202110
MOON ROOF-WITH&SUN VISOR-*DRP(VANITY MIRROR & LAMP),FROMAGE,TRIM0#,2#; MOON ROOF-WITH,FROMAGE,TRIM0#,2#; TURKEY SPEC&MOON ROOF-WITH&SUN VISOR-*DRP(VANITY MIRROR & LAMP),FROMAGE,TRIM0#,2#; TURKEY SPEC&MOON ROOF-WITH,FROMAGE,TRIM0#,2#; UKRAINE SPEC&MOON ROOF-WITH&SUN VISOR-*DRP(VANITY MIRROR & LAMP),FROMAGE,TRIM0#,2#
main63310-02N01-A0iMZEA11,ZRE211,ZWE211,213..G..(EUR,GCC,GEN); MZEA11,ZWE211,213..G..EUR; ZWE211,213..LHD..N..EUR; ZWE211,213..N;MZEA11,ZRE211..RHD;ZRE210..CVT..N..GCC;ZRE210..6F..N..(GCC,GEN); ZWE211..G..EUR; ZWE211..LHD..N..EUR; ZWE213..G202111
GEORGIA SPEC&MOON ROOF-WITH&SUN VISOR-*DRP(VANITY MIRROR & LAMP),FROMAGE,TRIM0#,2#; GEORGIA SPEC&MOON ROOF-WITH,FROMAGE,TRIM0#,2#; MOLDOVA SPEC&MOON ROOF-WITH&SUN VISOR-*DRP(VANITY MIRROR & LAMP),FROMAGE,TRIM0#,2#; MOON ROOF-WITH&SUN VISOR-*DRP(VANITY MIRROR & LAMP),FROMAGE,TRIM0#,2#; MOON ROOF-WITH,FROMAGE,TRIM0#,2#; TURKEY SPEC&MOON ROOF-WITH&SUN VISOR-*DRP(VANITY MIRROR & LAMP),FROMAGE,TRIM0#,2#; TURKEY SPEC&MOON ROOF-WITH,FROMAGE,TRIM0#,2#; UKRAINE SPEC&MOON ROOF-WITH&SUN VISOR-*DRP(VANITY MIRROR & LAMP),FROMAGE,TRIM0#,2#; UKRAINE SPEC&MOON ROOF-WITH,FROMAGE,TRIM0#,2#
UNITED KINGDOM SPEC,FROMAGE,TRIM0#,2#
BLACK,TRIM20; UNITED KINGDOM SPEC,BLACK,TRIM20
FROMAGE,TRIM0#,20; UNITED KINGDOM SPEC,FROMAGE,TRIM0#,2#; UNITED KINGDOM SPEC,FROMAGE,TRIM0#,20
BLACK,TRIM20; UNITED KINGDOM SPEC,BLACK,TRIM20
FROMAGE,TRIM0#,2#; UNITED KINGDOM SPEC&SUN VISOR-*DRP(VANITY MIRROR & LAMP),FROMAGE,TRIM0#,2#
SUN VISOR-*DRP(VANITY MIRROR & LAMP),BLACK,TRIM20; UNITED KINGDOM SPEC&SUN VISOR-*DRP(VANITY MIRROR & LAMP),BLACK,TRIM20
SUN VISOR-*DRP(VANITY MIRROR & LAMP),FROMAGE,TRIM0#,20; UNITED KINGDOM SPEC&SUN VISOR-*DRP(VANITY MIRROR & LAMP),FROMAGE,TRIM0#,2#; UNITED KINGDOM SPEC&SUN VISOR-*DRP(VANITY MIRROR & LAMP),FROMAGE,TRIM0#,20
SUN VISOR-*DRP(VANITY MIRROR & LAMP),BLACK,TRIM20
WINDSHIELD WIPER CONTROL-AUTO(RAIN SENSOR),BLACK,TRIM20
main63310-02V30-A0iMZEA11..CVT..N..EUR; MZEA11..N..TUR;MZEA11..6F..N..EUR;ZWE219..N..(EUR,TUR)202301-202402
MOON ROOF-WITH&WINDSHIELD WIPER CONTROL-AUTO(RAIN SENSOR),FROMAGE,TRIM0#; MOON ROOF-WITH&WINDSHIELD WIPER CONTROL-AUTO(RAIN SENSOR),FROMAGE,TRIM0#,20
main63310-02V30-B1iMZEA11..CVT..N..EUR;ZWE219..N..(EUR,TUR); MZEA11..N..TUR;MZEA11..6F..N..EUR202301-202402
MOON ROOF-WITH&WINDSHIELD WIPER CONTROL-AUTO(RAIN SENSOR),LT. GRAY,TRIM1#,2#; MOON ROOF-WITH&WINDSHIELD WIPER CONTROL-AUTO(RAIN SENSOR),LT. GRAY,TRIM1#,21
MOON ROOF-WITH,BLACK,TRIM20
LT. GRAY,TRIM1#,2#; WINDSHIELD WIPER CONTROL-AUTO(RAIN SENSOR),LT. GRAY,TRIM1#,21
WINDSHIELD WIPER CONTROL-AUTO(RAIN SENSOR),BLACK,TRIM20
63310HCLIP(FOR ROOF HEADLINING)
main90467-05168-A0×3iZRE210..CVT..N..RUS; ZRE210..D..RUS;MZEA11,ZWE219..LHD..D..EUR;ZRE210..LHD..CVT..D..(GCC,GEN); ZRE211..LHD..N;MZEA11..6F..N..EUR;MZEA11..(G,N)..TUR;ZRE210..CVT..N..GEN;ZWE219..(G,N)..(EUR,GCC,TUR); ZWE219..GEN;ZRE210..N..EUR;ZWE219..D..TUR;MZEA11..CVT..N..EUR202301
FROMAGE,TRIM0#; FROMAGE,TRIM0#,2#; FROMAGE,TRIM0#,20
main90467-05168-B1×3iZWE219..G;ZWE219..GCC;MZEA11..TUR;ZRE211..LHD..N;MZEA11..6F..N..EUR;ZRE210..CVT..(G,N)..(GEN,RUS); ZWE219..GEN;ZRE210..N..EUR;ZWE219..D..TUR;MZEA11..CVT..N..EUR202301
LT.GRAY,TRIM1#,2#; LT.GRAY,TRIM1#,21
BLACK,TRIM20
63339ACOVER, ROOF HEADLINING SERVICE HOLE
FROMAGE,TRIM0#,2#; SRS AIR BAG-WITH(*DRP & SIDE),FROMAGE,TRIM0#,2#
LT.GRAY,TRIM1#,2#; LT.GRAY,TRIM1#,21
BLACK,TRIM20
63341PAD, ROOF SILENCER, NO.1
TURKEY SPEC
main63341-02591iZWE219;MZEA11..TUR;ZRE210..N..EUR;ZRE210..CVT..N..GEN;ZRE210..LHD..CVT..D..(GCC,GEN);MZEA11,ZRE211..LHD..(D,N)..(EUR,GCC,GEN)202301
63342PAD, ROOF SILENCER, NO.2
main63342-02810×2iZRE211..RHD;MZEA11..6F..G;MZEA11..RHD..6F;ZRE210..6F..N..RUS;ZRE210..LHD..D..EUR;ZRE210..CVT..N..GCC;ZRE210..6F..(GCC,GEN);ZRE210..RHD..CVT..D..GEN;MZEA11,ZRE211..CVT..(D,G)..(EUR,GCC,GEN); ZWE211,213..LHD..EUR; ZWE211,213..LHD..N..EUR201901
TURKEY SPEC; TURKEY SPEC&SUN VISOR-*DRP(VANITY MIRROR & LAMP); UKRAINE SPEC; UKRAINE SPEC&SUN VISOR-*DRP(VANITY MIRROR & LAMP)
63352DPAD, ROOF HEADLINING, NO.2
main63352-02090×2iZRE210..G..RUS;ZRE210..RHD..GEN;ZRE210..LHD..(D,N);MZEA11,ZRE211,ZWE21#201901-202207
63353EPAD, ROOF HEADLINING, CENTER
main63353-02150×2iZRE210..N..EUR;ZRE210..D..RUS;MZEA11,ZRE211..LHD..(D,N);ZRE210..CVT..(G,N)..(GEN,RUS);ZRE210..LHD..CVT..D..(GCC,GEN)201901-202301
63365APLATE, ROOF HEADLINING SET
63366BPLATE, ROOF HEADLINING SET, LH
main63366-02010iZRE210..N..EUR;ZRE210..D..RUS;MZEA11,ZRE211..LHD..(D,N);ZRE210..CVT..(G,N)..(GEN,RUS);ZRE210..LHD..CVT..D..(GCC,GEN)201901-202301
63388ACOVER, ROOF HEADLINING HOLDER
AUDIO COVER-WITH
63388GCOVER, ROOF HEADLINING HOLDER, NO.2
main63388-02010iZRE21#,ZWE219..LHD..CVT..(D,N)..GEN; ZRE210..CVT..D..GCC;ZRE210..LHD..CVT..GEN;ZRE211,ZWE219..LHD..N..(GCC,GEN); ZRE210..D..RUS; ZWE219..GEN202301
AUDIO COVER-WITH; AUDIO-10.5INCH DISPLAY(T1) & 6SPEAKER; AUDIO-10.5INCH DISPLAY(T2) & 6SPEAKER; AUDIO-8INCH DISPLAY(T1) & 6SPEAKER
8121INTERIOR LAMP
86255FCASE, MICROPHONE
main86255-42010-A0×2iZRE210..CVT..N..RUS; ZRE210..D..RUS;MZEA11,ZWE219..LHD..D..EUR;ZRE210..LHD..CVT..D..(GCC,GEN); ZRE211..LHD..N;MZEA11..6F..N..EUR;MZEA11..(G,N)..TUR;ZRE210..CVT..N..GEN;ZWE219..(G,N)..(EUR,GCC,TUR); ZWE219..GEN;ZRE210..N..EUR;ZWE219..D..TUR;MZEA11..CVT..N..EUR202301
FROMAGE,TRIM0#; FROMAGE,TRIM0#,2#; FROMAGE,TRIM0#,20
main86255-42010-B1×2iZWE219..G;ZWE219..GCC;MZEA11..TUR;ZRE211..LHD..N;MZEA11..6F..N..EUR;ZRE210..CVT..(G,N)..(GEN,RUS); ZWE219..GEN;ZRE210..N..EUR;ZWE219..D..TUR;MZEA11..CVT..N..EUR202301
LT.GRAY,TRIM1#,2#; LT.GRAY,TRIM1#,21
BLACK,TRIM20
14 parts on this diagram · 4 diagrams in section