E
EPC Data

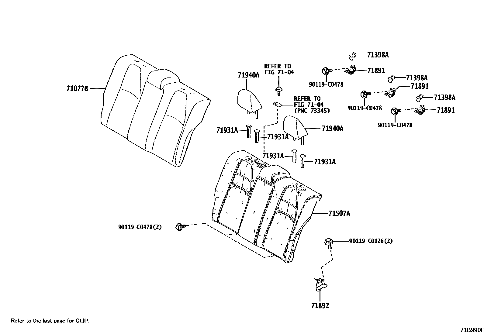
REAR SEAT & SEAT TRACK

Parts diagram
7104SEAT BELT & CHILD RESTRAINT SEAT
71077BCOVER, REAR SEATBACK (FOR BENCH TYPE)
main71077-0ZL11-C2supersedes 71077-0ZL10-C2i202007-202304
BLACK,TRIM2#
main71077-0ZL11-E2supersedes 71077-0ZL10-E2i202007-202305
ORCHID BROWN,TRIM0#
main71077-0ZS30-C1i202306
BLACK,TRIM2#
main71077-0ZS40-C1i202305
BLACK,TRIM2#
main71077-0ZS40-E1i202305
TAUPE,TRIM4#
main71077-0ZE20-A0supersedes 71077-0ZL11-C2i202007-202305
VFM PACKAGE,CKD COLOR,TRIM2#
main71077-0ZL21-C2i202004-202007
SRS AIR BAG-W(*DRP & SIDE & *CUSA & KNEE & CUSHION),BALCK,TRIM2#
main71077-0ZL21-E2i202004-202007
SRS AIR BAG-W(*DRP & SIDE & *CUSA & KNEE & CUSHION),FROMAGE,TRIM0#
main71077-0ZN50-C0supersedes 71077-0ZE20-A0i201908-202007
SPORT PACKAGE&SRS AIR BAG-W(*DRP & SIDE & *CUSA & KNEE & CUSHION),BLACK,TRIM2#; SPORT PACKAGE,BLACK,TRIM2#
main71077-0ZP00-A0i202101-202304
LADY PACKAGE,CKD COLOR,TRIM2#
main71077-0ZT50-C1i202406
LEATHER PACKAGE,BLACK,TRIM2#
main71077-0ZT50-E1i202406
LEATHER PACKAGE,SAND BROWN,TRIM4#
main71077-YK130i202110-202304
GR SPORT
71398AHOLDER, REAR SEATBACK
main71398-33010×3i202104-202304
main71398-33010-C1×3i201908-202104
BLACK
71507APAD SUB-ASSY, REAR SEATBACK
main71507-02420i202305
main71507-02520i201908-202304
71891BRACKET, REAR SEATBACK SET, NO.1
main71891-02110×3i201908-202304
71892BRACKET, REAR SEATBACK SET, NO.2
main71891-02120i202305
71931ASUPPORT, REAR SEAT HEADREST
main71930-06070-C0×2i201908-202304
W(LOCK),BLACK,TRIM2#
main71930-06070-E3×2i201908-202304
W(LOCK),ORCHID BROWN,TRIM0#
main71931-06060-C0×2i201908-202502
W/O(LOCK),BLACK,TRIM2#
main71931-06060-E3×2i201908-202304
W/O(LOCK),ORCHID BROWN,TRIM0#
71940AHEADREST ASSY, REAR SEAT
main71940-02F70-C1×2supersedes 71940-02T60-C2i201908-202304
BLACK,TRIM2#; LEATHER PACKAGE,BLACK,TRIM2#
main71940-02F70-E1×2supersedes 71940-02T60-E2i201908-202304
LEATHER PACKAGE,ORCHID BROWN,TRIM0#; ORCHID BROWN,TRIM0#
main71940-02T60-C2×2i201908-202304
BLACK,TRIM2#
main71940-02T60-E2×2i201908-202304
ORCHID BROWN,TRIM0#
main71940-02T70-C2×2i201908-202304
BALCK,TRIM2#
main71940-02T70-E2×2i201908-202304
ORCHID BROWN,TRIM0#
main71940-02P80-A0×2i202101-202304
LADY PACKAGE,CKD COLOR,TRIM2#
main71940-02R30-A0×2supersedes 71940-02T60-C2i202007-202305
VFM PACKAGE,CKD COLOR,TRIM2#
main71940-02U30-C0×2supersedes 71940-02T60-C2i201908-202007
SPORT PACKAGE&SRS AIR BAG-W(*DRP & SIDE & *CUSA & KNEE & CUSHION),BLACK,TRIM2#; SPORT PACKAGE,BLACK,TRIM2#
main71940-YK100×2i202110-202304
GR SPORT
90119C0126
90119C0478

10 parts on this diagram · 11 diagrams in section

REAR SEAT & SEAT TRACK — Toyota Parts Diagram with OEM Numbers & Prices | EPC Data