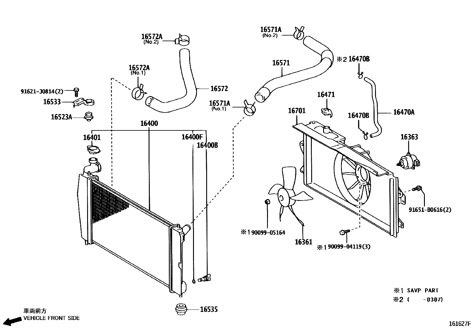
16361FAN
main16361-0D130i1ZZFE,2ZZGE..ZZE122,123..ARL200303-200510 main16361-0D140i1ZZFE,2ZZGE,3ZZFE,4ZZFE..ZZE12#..SA200208-200707 16363MOTOR, COOLING FAN
main16363-21050i1ZZFE,2ZZGE,3ZZFE,4ZZFE..ZZE12#..SA200408-200707 main16363-23020i1ZZFE,2ZZGE..ZZE122,123..ARL200303-200305 main16363-23030i1ZZFE,2ZZGE,3ZZFE,4ZZFE..ZZE12#..SA200208-200307 main16363-28150i1ZZFE,2ZZGE..ZZE122,123..ARL200305-200510 16400RADIATOR ASSY
main16400-0D340i1ZZFE,2ZZGE,3ZZFE,4ZZFE..ZZE12#..MTM..SA200208-200707 main16400-0D350i1ZZFE,3ZZFE..ZZE121,122..ATM..SA200208-200707 16400BPLUG, RADIATOR DRAIN COCK
main16417-0D310i1ZZFE,2ZZGE,3ZZFE,4ZZFE..ZZE12#200208-200707 16400FPACKING(FOR RADIATOR DRAIN COCK)
main16418-0D310i1ZZFE,2ZZGE,3ZZFE,4ZZFE..ZZE12#200208-200707 16401CAP SUB-ASSY, RADIATOR
main16401-72090i1ZZFE,2ZZGE,3ZZFE,4ZZFE..ZZE12#200208-200707 16470AHOSE OR PIPE(FOR RADIATOR RESERVE TANK)
main16377-0D160i1ZZFE,2ZZGE,3ZZFE,4ZZFE..ZZE12#200208-200707 16470BCLAMP OR CLIP(FOR RADIATOR RESERVE TANK HOSE)
main90069-49003i1ZZFE,2ZZGE,3ZZFE,4ZZFE..ZZE12#200208-200707 16471CAP SUB-ASSY, RESERVE TANK
main16405-0D020i1ZZFE,2ZZGE,3ZZFE,4ZZFE..ZZE12#200307-200707 main16471-0D030i1ZZFE,2ZZGE,3ZZFE,4ZZFE..ZZE12#200208-200307 16523ACUSHION, RADIATOR SUPPORT
main16523-21020i1ZZFE,2ZZGE,3ZZFE,4ZZFE..ZZE12#200208-200707 16533SUPPORT, RADIATOR, UPPER
main16533-21020i1ZZFE,2ZZGE,3ZZFE,4ZZFE..ZZE12#200208-200707 16535SUPPORT, RADIATOR, LOWER
main16535-21060i1ZZFE,3ZZFE..ZZE121,122..ATM..SA200208-200707 main90480-40016i1ZZFE,2ZZGE,3ZZFE,4ZZFE..ZZE12#..MTM200208-200707 16571HOSE, RADIATOR, INLET
main16571-0D090i1ZZFE,2ZZGE,3ZZFE,4ZZFE..ZZE12#200208-200707 16571ACLAMP OR CLIP, HOSE(FOR RADIATOR INLET)
main90467-34004i1ZZFE,2ZZGE,3ZZFE,4ZZFE..ZZE12#200208-200707 NO.2
main90467-37005i1ZZFE,2ZZGE,3ZZFE,4ZZFE..ZZE12#200208-200707 NO.1
16572HOSE, RADIATOR, OUTLET
main16572-0D080i1ZZFE,3ZZFE,4ZZFE..ZZE120,121,122200208-200707 16572ACLAMP OR CLIP, HOSE(FOR RADIATOR OUTLET NO.1)
main90466-35001i1ZZFE,2ZZGE,3ZZFE,4ZZFE..ZZE12#200208-200707 NO.1
main90466-37002i1ZZFE,2ZZGE,3ZZFE,4ZZFE..ZZE12#200208-200707 NO.2
16701SHROUD SUB-ASSY, FAN
main16711-0D110i1ZZFE,2ZZGE..ZZE122,123..ARL200303-200307 main16711-0D111i1ZZFE,2ZZGE..ZZE122,123..ARL200408-200510 main16711-0D120i1ZZFE,2ZZGE,3ZZFE,4ZZFE..ZZE12#..SA200208-200307 main16711-0D121i1ZZFE,2ZZGE,3ZZFE,4ZZFE..ZZE12#..SA200307-200707