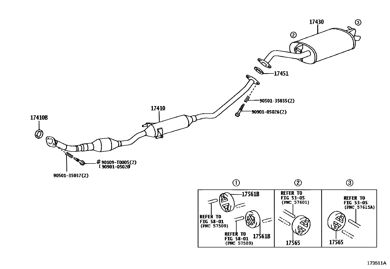
EXHAUST PIPE

17410PIPE ASSY, EXHAUST, FRONT
PERU SPEC
PERU SPEC
17410BGASKET, EXHAUST PIPE
17430PIPE ASSY, EXHAUST, TAIL
17451GASKET, EXHAUST PIPE
main17451-16030i1ZZFE..ZZE122..XEI..SED;1ZZFE..ZZE122..ATM..SEG..SED;1CDFTV,1ZZFBE..CDE120,ZZE122..SED200408-200803
17561BSUPPORT, EXHAUST PIPE, NO.1
main17565-22030×2i1ZZFE..ZZE122..XEI..SED;1ZZFE..ZZE122..ATM..SEG..SED;1CDFTV,1ZZFBE,3ZZFE..CDE120,ZZE12#..BZ..SED200802-200803
17565SUPPORT, EXHAUST PIPE, NO.5
5305FLOOR SIDE MEMBER
5801FLOOR PAN & LOWER BACK PANEL
90109T0005
main90109-T0005
9050135035
main90501-35035
9050135037
main90501-35037
9090105020
main90901-05020
9090105026
main90901-05026
13 parts on this diagram · 1 diagram in section