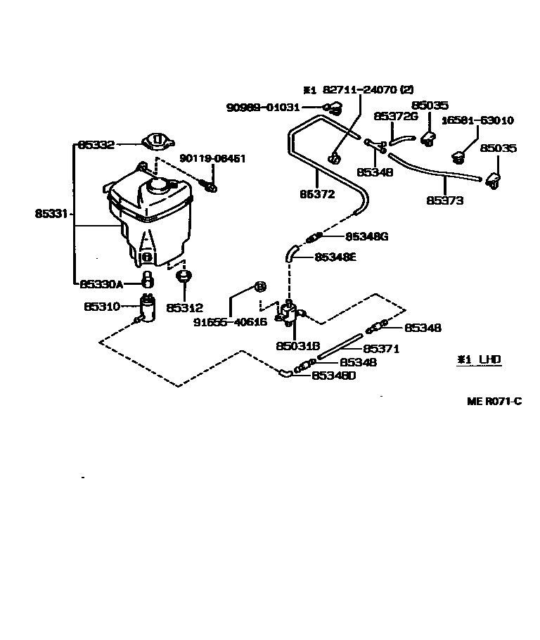
WINDSHIELD WASHER

85031BVALVE SUB-ASSY, WASHER
85310MOTOR AND PUMP ASSY, WINDSHIELD WASHER
85312PACKING, WINDSHIELD WASHER TANK
85330ABUSH, WINDSHIELD WASHER JAR
85331JAR SUB-ASSY, WINDSHIELD WASHER
W(PRE AIR CLEANER)
85348JOINT, WINDSHIELD WASHER HOSE, NO.1
3-WAY
2-WAY
85348DJOINT, WINDSHIELD WASHER ELBOW, NO.1
85348EJOINT, WINDSHIELD WASHER ELBOW, NO.2
85348GJOINT, WINDSHIELD WASHER HOSE, NO.2
85371HOSE, WINDSHIELD WASHER (FROM MOTOR TO JOINT)
L=1800
85372HOSE, WINDSHIELD WASHER (FROM JOINT TO JOINT), NO.1
L=530
85372GTUBE, RUBBER
L=1450
85373HOSE, WINDSHIELD WASHER (FROM JOINT TO NOZZLE)
L=1450
1658163010CLAMP, HOSE(FOR WATER HOSE)
main16581-63010
8271124070WIRE, FUSE TO FUSE(FOR COMBUSTION HEATER)
main82711-24070
9011906451
main90119-06451
9098901031
main90989-01031
9165540616
main91655-40616
20 parts on this diagram · 1 diagram in section