E
EPC Data

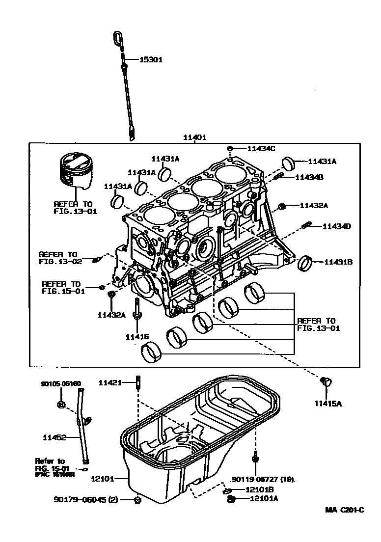
CYLINDER BLOCK

Parts diagram
11401BLOCK SUB-ASSY, CYLINDER
main11401-19447i199009-199104
main11401-19448i199104-199202
main11401-19517i199009-199104
main11401-19518i199104-199202
11415APLUG, WATER DRAIN COCK(FOR CYLINDER BLOCK)
main90345-52003i199009-199508
11416BOLT(FOR CRANKSHAFT BEARING CAP SET)
main90105-10007×10i199009-199508
11421BOLT, STUD(FOR OIL PAN)
main90116-06022×2i199009-199508
11431APLUG, TIGHT, NO.1(FOR CYLINDER BLOCK)
main96411-43500×6i199009-199508
11431BPLUG, TIGHT, NO.2(FOR CYLINDER BLOCK)
main96411-44000i199009-199508
11432APLUG, W/HEAD TAPER SCREW, NO.1
main90344-53008×2i199009-199508
11434BPIN, STRAIGHT(FOR CLUTCH HOUSING SET)
main90250-10113×2i199009-199508
L=22,OD=10
11434CPIN, STRAIGHT (FOR CYLINDER HEAD SET)
main90253-13017×2i199009-199508
L=12,OD=13
11434DPIN, STRAIGHT(FOR ENGINE REAR OIL SEAL)
main90250-06003×2i199009-199508
L=14,OD=6
11452GUIDE, OIL LEVEL GAGE
main11452-15020i199009-199508
12101PAN SUB-ASSY, OIL
main12101-15100i199009-199508
main12101-16070i199009-199508
12101APLUG(FOR OIL PAN DRAIN)
main90341-12026i199009-199508
12101BGASKET(FOR OIL PAN DRAIN PLUG)
main90430-12027i199009-199312
main90430-12031i199312-199508
1301CRANKSHAFT & PISTON
1302CAMSHAFT & VALVE
1501ENGINE OIL PUMP
15301GAGE SUB-ASSY, OIL LEVEL
main15301-15041i199009-199508
9010506160
9011906727
9017906045

21 parts on this diagram · 1 diagram in section

CYLINDER BLOCK — Toyota Parts Diagram with OEM Numbers & Prices | EPC Data