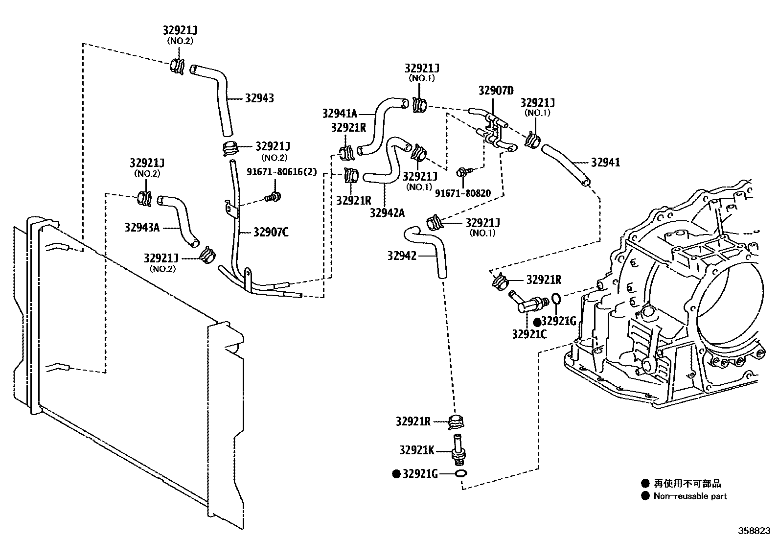
OIL COOLER & TUBE (ATM)

32907CTUBE SUB-ASSY, OIL COOLER W/O HOSE, NO.1
32907DTUBE SUB-ASSY, OIL COOLER W/O HOSE, NO.2
32921TUBE, OIL COOLER INLET, NO.1
32921CUNION(FOR OIL COOLER TUBE)
NO.1:REFER ILLUST.
NO.2:REFER ILLUST.
32921GRING, O(FOR OIL COOLER TUBE UNION)
32921JCLIP(FOR OIL COOLER HOSE)
NO.1:REFER ILLUST.; NO.2:REFER ILLUST.
NO.1:REFER ILLUST.; NO.2:REFER ILLUST.
32921KUNION, NO.2(FOR OIL COOLER TUBE)
32921RCLIP, NO.2(FOR OIL COOLER HOSE)
NO.1:REFER ILLUST.
NO.2:REFER ILLUST.
32941HOSE, OIL COOLER INLET, NO.1
32941AHOSE, OIL COOLER INLET, NO.2
32942HOSE, OIL COOLER OUTLET, NO.1
32942AHOSE, OIL COOLER OUTLET, NO.2
32943HOSE, TRANSMISSION OIL COOLER, NO.1
32943AHOSE, TRANSMISSION OIL COOLER, NO.2
9167180616
main91671-80616
9167180820
main91671-80820
16 parts on this diagram · 5 diagrams in section