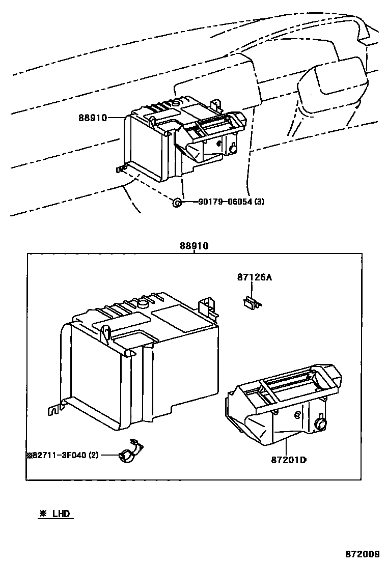
HEATING & AIR CONDITIONING - HEATER UNIT & BLOWER

87126ACLAMP, HEATER CONTROL
HEATER CONTROL---LEVER TYPE OR BOOST VENTILATOR
87201DDUCT SUB-ASSY, AIR
W(BOOST VENTILATOR)
W(BOOST VENTILATOR)
88910VENTILATOR ASSY, BOOST
827113F040WIRE, FUSE TO FUSE(FOR COMBUSTION HEATER)
main82711-3F040
9017906054
main90179-06054
5 parts on this diagram · 4 diagrams in section