BACK DOOR PANEL & GLASS

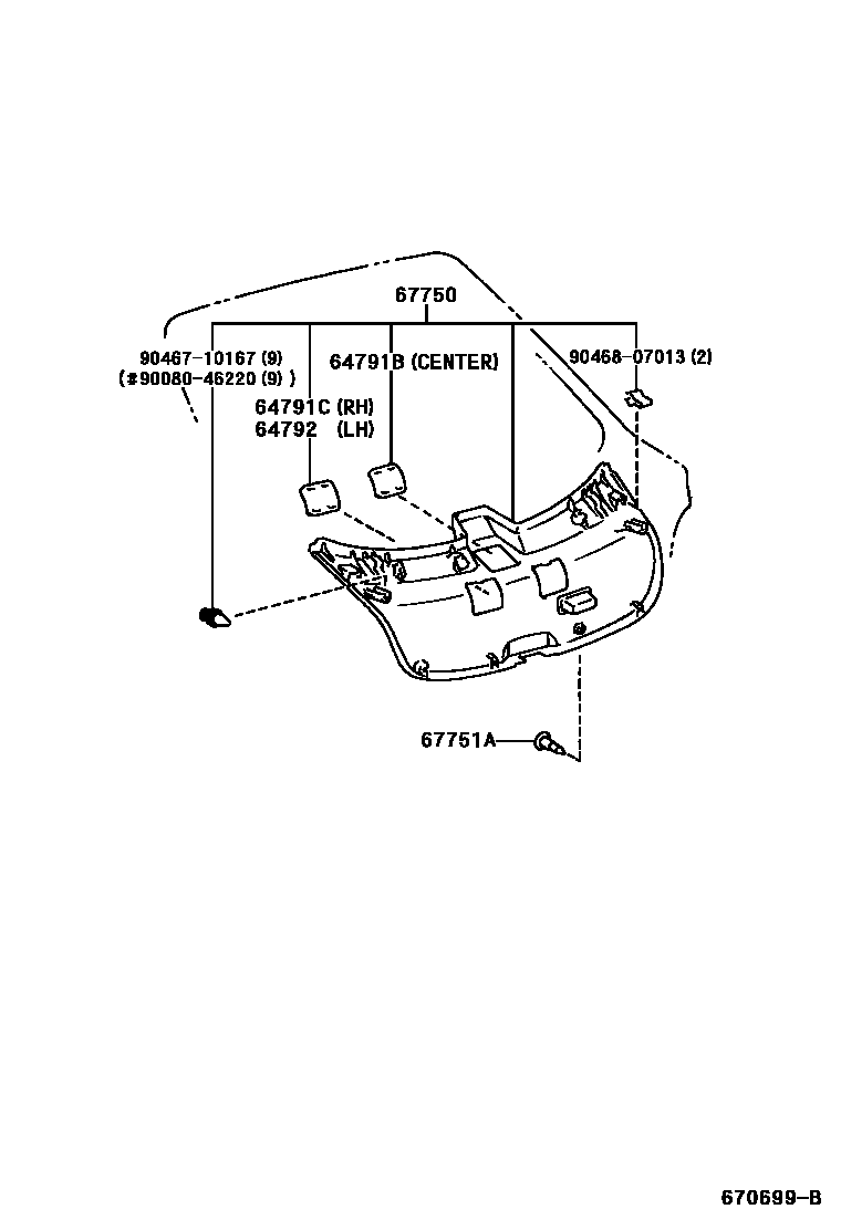
64791BCOVER, BACK DOOR TRIM
SHADOW GRAY,TRIM1#
64791CCOVER, BACK DOOR TRIM, RH
SHADOW GRAY,TRIM1#
64792COVER, BACK DOOR TRIM, LH
SHADOW GRAY,TRIM1#
67750BOARD ASSY, BACK DOOR TRIM
SHADOW GRAY,TRIM1#
67751ACLIP(FOR BACK DOOR TRIM BOARD)
SHADOW GRAY,TRIM1#
sub90467-07041
9008046220
main90080-46220
9046710167
main90467-10167
9046807013
main90468-07013
8 parts on this diagram · 2 diagrams in section