E
EPC Data

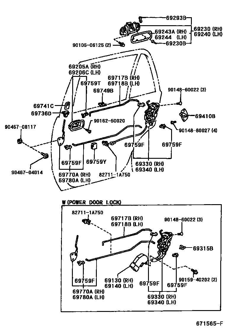
REAR DOOR LOCK & HANDLE

Parts diagram
69130ACTUATOR ASSY, REAR DOOR LOCK, RH
main69130-12010i199704-200109
69140ACTUATOR ASSY, REAR DOOR LOCK, LH
main69140-12010i199704-200109
69205AHANDLE SUB-ASSY, REAR DOOR INSIDE, RH
main69207-12030-B0i199904-199906
AUSTRALIA,SHADOW GRAY,TRIM12
main69207-12030-B0i199910-200109
SHADOW GRAY,TRIM1#
main69207-12030-B1i199704-200109
MD.CHARCOAL,TRIM1#
69206CHANDLE SUB-ASSY, REAR DOOR INSIDE, LH
main69208-12030-B0i199904-199906
AUSTRALIA,SHADOW GRAY,TRIM12
main69208-12030-B0i199910-200109
SHADOW GRAY,TRIM1#
main69208-12030-B1i199704-200109
MD.CHARCOAL,TRIM1#
69230HANDLE ASSY, REAR DOOR OUTSIDE, RH
main69230-12220i199704-200109
BLACK
main69230-12230-A0i199704-200109
SUPER WHITE 2,040
main69230-12230-B3i199704-200109
SILVER ME,199
main69230-12230-C0i199704-200109
BLACK ME,205
main69230-12230-D1i199704-199910
CORAL REEF M.M.,3L6
main69230-12230-D2i199704-199808
RED,3M7
main69230-12230-D4i199808-200109
SUPER RED II,3E5
main69230-12230-D6i199910-200109
RED M.M.,3N8
main69230-12230-E0i199704-199808
APRICOT M.M.,4P0
main69230-12230-F3i199910-200109
GOLD ME.,581
main69230-12230-G1i199704-199910
GREEN M.M.,6P5
main69230-12230-G8i199910-200109
GREEN MC.,6R8
main69230-12230-J2i199704-200109
BLUE M.M.,8L5
main69230-12230-J3i199704-200109
DK.BLUE,8M4
main69230-12230-J6i199808-199910
BLUE M.M.,8M9
main69230-12230-J9i199910-200109
DK.BLUE M.M.,8L3
main69230-12230-K0i199704-199808
LAVENDER ME.,932
main69230-12230-K1i199808-199910
VIOLET M.M.,944
main69230-12240i199710-199810
69230BCUSHION(FOR REAR DOOR OUTSIDE HANDLE)
main90541-04018i199704-199910
69240HANDLE ASSY, REAR DOOR OUTSIDE, LH
main69240-12220i199704-200109
BLACK
main69240-12230-A0i199704-200109
SUPER WHITE 2,040
main69240-12230-B3i199704-200109
SILVER ME,199
main69240-12230-C0i199704-200109
BLACK ME,205
main69240-12230-D1i199704-199910
CORAL REEF M.M.,3L6
main69240-12230-D2i199704-199808
RED,3M7
main69240-12230-D4i199808-200109
SUPER RED II,3E5
main69240-12230-D6i199910-200109
RED M.M.,3N8
main69240-12230-E0i199704-199808
APRICOT M.M.,4P0
main69240-12230-F3i199910-200109
GOLD ME.,581
main69240-12230-G1i199704-199910
GREEN M.M.,6P5
main69240-12230-G8i199910-200109
GREEN MC.,6R8
main69240-12230-J2i199704-200109
BLUE M.M.,8L5
main69240-12230-J3i199704-200109
DK.BLUE,8M4
main69240-12230-J6i199808-199910
BLUE M.M.,8M9
main69240-12230-J9i199910-200109
DK.BLUE M.M.,8L3
main69240-12230-K0i199704-199808
LAVENDER ME.,932
main69240-12230-K1i199808-199910
VIOLET M.M.,944
main69240-12240i199710-199810
69243APAD, REAR DOOR OUTSIDE HANDLE, RH
main69243-12020i199704-200109
69244PAD, REAR DOOR OUTSIDE HANDLE, LH
main69244-12020i199704-200109
69293BSNAP, REAR DOOR OUTSIDE HANDLE
main69293-12030i199704-199910
RH
main69293-12040i199704-199910
LH
69315BRETAINER, REAR DOOR LOCK SOLENOID
main69315-33030i199910-200109
69330LOCK ASSY, REAR DOOR, RH
main69305-12170i199903-199910
W(POWER DOOR LOCK)
main69305-12170i199704-199910
main69305-12180i199704-199910
W(POWER DOOR LOCK)
main69305-12180i199710-199910
main69305-12230i199910-200109
main69305-12240i199910-200109
W(POWER DOOR LOCK)
69340LOCK ASSY, REAR DOOR, LH
main69306-12190i199903-199910
W(POWER DOOR LOCK)
main69306-12190i199704-199910
main69306-12200i199710-199910
main69306-12200i199704-199910
W(POWER DOOR LOCK)
main69306-12230i199910-200109
main69306-12240i199910-200109
W(POWER DOOR LOCK)
69410BPLATE ASSY, REAR DOOR LOCK STRIKER
main69410-87001i199704-200109
69717BLINK, REAR DOOR LOCK REMOTE CONTROL, RH
main69713-12090i199704-200109
69718BLINK, REAR DOOR LOCK REMOTE CONTROL, LH
main69714-12100i199704-200109
69736DGUIDE, REAR DOOR LOCKING LINK
main69736-12130i199704-200109
69741CKNOB, REAR DOOR LOCK CONTROL
main69741-12040-B0i199904-199906
AUSTRALIA,SHADOW GRAY,TRIM12
main69741-12040-B0i199910-200109
SHADOW GRAY,TRIM1#
main69741-12040-B3i199704-200109
MD.CHARCOAL,TRIM1#
69749BCLAMP, REAR DOOR LOCK LINK
main69749-12070i199704-200109
69759FSNAP, REAR DOOR LOCK CONTROL LINK
main69759-20020i199704-200109
NATURAL
main69759-20030i199704-200109
BLUE
main69759-20040i199704-200109
YELLOW
main69759-20050i199704-200109
BROWN
69759TSNAP, REAR DOOR INSIDE HANDLE
main69759-22040i199704-200109
LH
main69759-22050i199704-200109
RH
69759YSILENCER, REAR DOOR LOCK LINK
main69759-20390i199704-200109
69770ALINK ASSY, REAR DOOR INSIDE LOCKING, RH
main69770-12110i199704-200109
69780ALINK ASSY, REAR DOOR INSIDE LOCKING, LH
main69780-12110i199704-200109
827111A750WIRE, FUSE TO FUSE(FOR COMBUSTION HEATER)
9010506125
9014860022
9014880027
9015940202
9016250020
9046704014
9046708117

32 parts on this diagram · 1 diagram in section

REAR DOOR LOCK & HANDLE — Toyota Parts Diagram with OEM Numbers & Prices | EPC Data