E
EPC Data

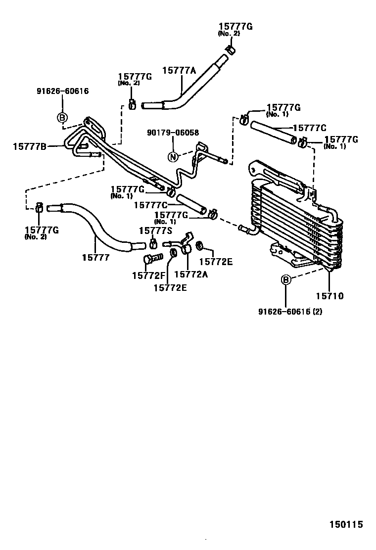
ENGINE OIL COOLER

Parts diagram
15710COOLER ASSY, OIL
main15700-16100i199704-200109
15772AUNION(FOR OIL PIPE)
main90405-10030i199808-200109
main90405-10043i199704-200109
15772EGASKET(FOR OIL PIPE)
main90430-12031×2i199704-200109
15772FBOLT, UNION(FOR OIL PIPE)
main90401-12009i199704-200109
15777HOSE, OIL COOLER
main15777-16110i199704-200109
15777AHOSE, OIL COOLER
main15778-16080i199704-200109
15777BPIPE, OIL COOLER
main15767-16140i199704-199910
15777CHOSE, OIL COOLER
main15779-16030×2i199704-200109
15777GCLAMP OR CRIP, HOSE
main90467-15018×4i199704-199910
NO.1
main90467-15025×3i199704-200109
NO.2
15777SCLAMP OR CLIP, HOSE
main90467-15025i199704-200109
9017906058
9162660616

12 parts on this diagram · 1 diagram in section

ENGINE OIL COOLER — Toyota Parts Diagram with OEM Numbers & Prices | EPC Data