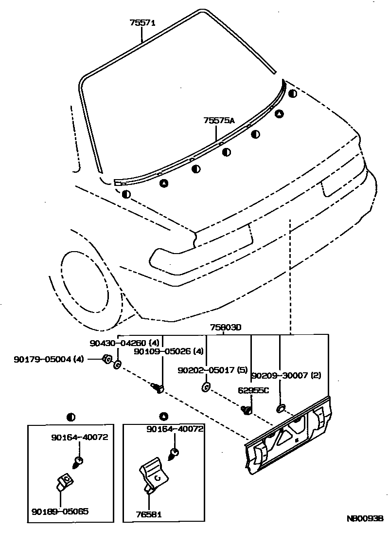
REAR MOULDING

62955CRETAINER, BACK DOOR MOULDING
75571MOULDING, BACK WINDOW, OUTSIDE UPPER
main75571-12560iAE92..GTI;EE90..LHD..XL..GEN;EE90..(3FC,4F)..(STD,XL)..GEN; EE90..GL;EE90..RHD..5F..XL..GEN198908-198909
NEW ZEALAND SPEC OR W(CKD COUNTRIES); W(CKD COUNTRIES)
75575AMOULDING, BACK WINDOW, OUTSIDE LOWER
main75507-12050iAE92..GTI;EE90..LHD..XL..GEN;EE90..(3FC,4F)..(STD,XL)..GEN; EE90..GL;EE90..RHD..5F..XL..GEN198908-198909
NEW ZEALAND SPEC OR W(CKD COUNTRIES); W(CKD COUNTRIES)
75803DMOULDING SUB-ASSY, BACK DOOR, OUTSIDE LOWER
76581RETAINER, BACK WINDOW OUTSIDE MOULDING
9010905026
main90109-05026
9016440072
main90164-40072
9017905004
main90179-05004
9018905065
main90189-05065
9020205017
main90202-05017
9020930007
main90209-30007
9043004260
main90430-04260
12 parts on this diagram · 2 diagrams in section