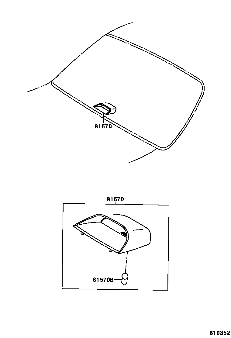
CENTER STOP LAMP

81570LAMP ASSY, CENTER STOP
MD.CHARCOAL,TRIM1#
main81570-12290iAE111..ARL,MA;EE110..LHD..XL..GEN;AE112..(GLI,SEG)..(ARL,GCC,IDN,PHL,TH,VEN);AE110,111,EE11#..(GL,GLI)..(GEN,GENKD,MA,PHL,TH)199704-200207
W(REAR SPOILER)
W(REAR SPOILER)
W/O(REAR SPOILER)
BULB TYPE,SHADOW GRAY,TRIM1#; SHADOW GRAY,TRIM1#
main81570-16100-B3iAE111,EE111..RHD..SED..(GL,XL,XLI)..GEN;AE110,CE110,EE110..RHD..(4FC,5F)..(GL,GLI,XL)..GEN; AE111,EE111..RHD..SED..(GL,XL,XLI)..GEN;AE110,CE110,EE110..RHD..(GL,GLI,XL)..GEN; AE111..RHD..GLI..GEN199704-199910
BULB TYPE,MD.CHARCOAL,TRIM1#; MD.CHARCOAL,TRIM1#
OAK,TRIM4#
81570BBULB (FOR CENTER STOP LAMP)
main90981-11039iAE110..TH;AE111..MA;AE110,CE110..RHD..(GLI,XL)..GEN;AE112,EE11#..RHD..(GEN,IDN,MA,TH);AE111..RHD..SED..(GL,GLI,XL,XLI)..(GEN,TH)199704-200003
12V 16W
12V 21W
main99132-11210iAE111,CE110..ARL,NZ;EE110..LHD..SED..(GCC,GEN,PHL);AE112..SED..(ARL,BZ,GCC,NZ,VEN);AE111,CE110,EE111..LHD..SED..(GL,GLI,XL,XLI); AE112..SED..(ARL,GCC,VEN);EE110..LHD..SED..(GCC,GEN);AE111,CE110..LHD..SED..(GCC,GEN,TUR,VEN)199704-199910
12V 21W
2 parts on this diagram · 3 diagrams in section