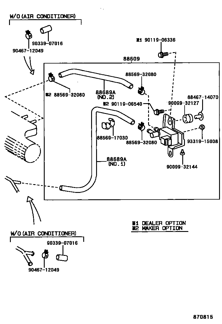
HEATING & AIR CONDITIONING - VACUUM PIPING

88609DEVICE SUB-ASSY, IDLE UP
MAKER OPTION
MAKER OPTION
MAKER OPTION
MAKER OPTION
MAKER OPTION
MAKER OPTION
MAKER OPTION
DEALER OPTION
DEALER OPTION
DEALER OPTION
DEALER OPTION
DEALER OPTION
DEALER OPTION
DEALER OPTION
W(POWER STEERING),DEALER OPTION
DEALER OPTION
DEALER OPTION
MAKER OPTION
MAKER OPTION
DEALER OPTION
DEALER OPTION
MAKER OPTION
88689AHOSE, COOLER VACUUM NO.1
NO.2(OUT)
NO.1(IN)
NO.2(OUT)
NO.1(IN)
NO.1(IN)
NO.2(OUT)
NO.3
NO.1(IN)
NO.2(OUT)
NO.1(IN)
NO.2(OUT)
8846714070CUSHION, COOLER CONDENSER, NO.1
main88467-14070
8856917030CLAMP (FOR COOLER RELAY)
main88569-17030
8856932080CLAMP (FOR COOLER RELAY)
main88569-32080
9009932127
main90099-32127
9009932144
main90099-32144
9011906336
main90119-06336
9011906540
main90119-06540
9033907016
main90339-07016
9046712049
main90467-12049
9331915008
main93319-15008
12 parts on this diagram · 14 diagrams in section