E
EPC Data

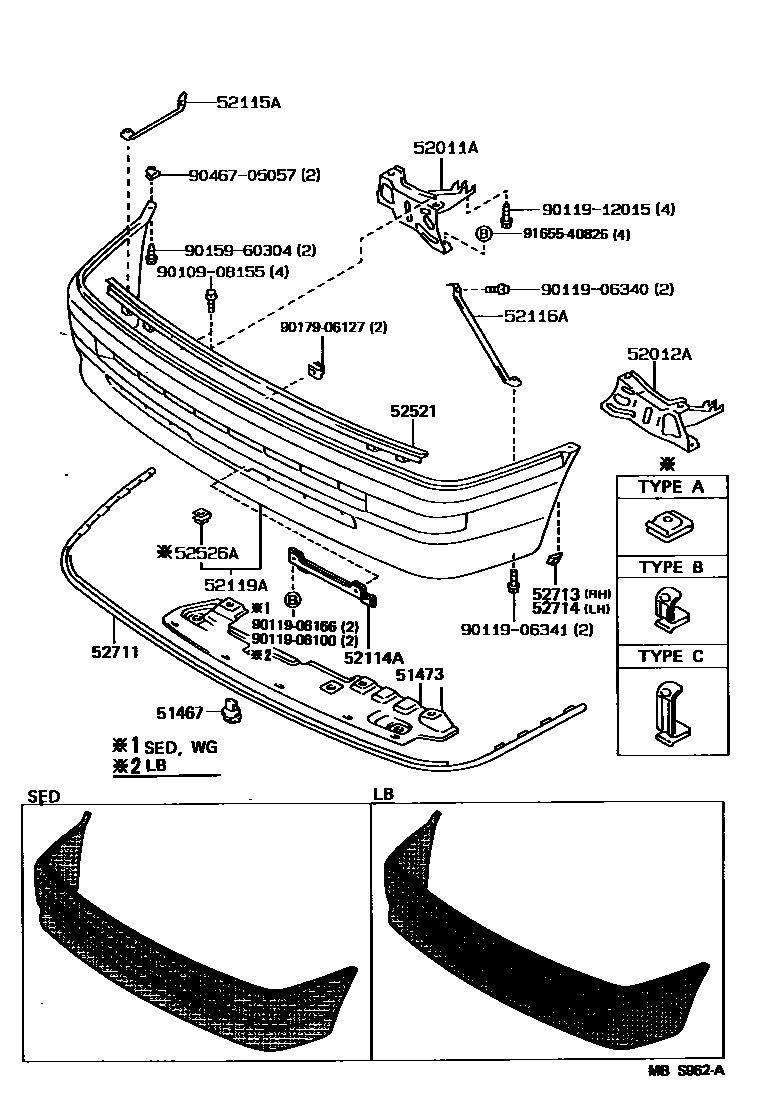
FRONT BUMPER & BUMPER STAY

Parts diagram
51467RETAINER, ENGINE UNDER COVER
main51467-12020×5i198908-199205
51473COVER, ENGINE UNDER, NO.5 FRONT
main51473-12020i198908-199205
52011AARM SUB-ASSY, FRONT BUMPER, RH
main52011-12360i199205-199308
main52011-12370i198705-199205
main52011-12420i198908-199205
main52011-12430i198908-199205
52012AARM SUB-ASSY, FRONT BUMPER, LH
main52012-12370i198705-199308
TYPE F
main52012-12380i198705-199205
main52012-12430i199008-199207
main52012-12440i198908-199205
52114ABRACKET, FRONT BUMPER EXTENSION MOUNTING
main52114-30050i198908-199205
52115ASUPPORT, FRONT BUMPER SIDE, RH
main52115-12260i198705-198908
TYPE E
52116ASUPPORT, FRONT BUMPER SIDE, LH
main52116-12200i198705-198908
TYPE E
52119ACOVER, FRONT BUMPER
main52119-12840i198908-199205
TYPE E
main52119-1A190i199008-199205
TYPE F,W(BUMPER MOULDING)
main52119-1A230i198905-198908
TYPE F
main52119-1A350i198705-199205
TYPE F,W/O(BUMPER MOULDING)
main52119-1A630i198908-199205
TYPE E
52521RETAINER, FRONT BUMPER, UPPER CENTER
main52521-12100i198908-199008
main52521-12110i198908-199205
52526ARETAINER, FRONT BUMPER, LOWER NO.1
main52565-12040×4i198910-199308
TYPE A
main52565-12090i198805-199008
TYPE B
main52565-12110i199008-199205
TYPE C
main52565-16020×4i198908-199205
TYPE A
52711MOULDING, FRONT BUMPER
main52711-12040i198712-199205
TYPE F
main52711-12120i199008-199205
main52711-12130i198705-199205
TYPE F
main52711-12170-02i198802-198808
RED,040 ,168 ,4H6 ,8D8
main52711-12170-03i198908-199009
GRAY,25M ,26M ,3E5 ,3H4 ,6K6 ,8E9
main52711-12180i199008-199207
W/O(PAINTED BUMPER)
main52711-12190i198908-199205
TYPE E,W/O(PAINTED BUMPER)
main52711-12220i199008-199207
W(PAINTED BUMPER)
main52711-12230i198908-199205
TYPE E
52713PLUG, FRONT BUMPER MOULDING
main52713-12020i198908-199205
52714PLUG, FRONT BUMPER MOULDING, LH
main52714-12010i198908-199205
9010908155
9011906100
9011906166
9011906340
9011906341
9011912015
9015960304
9017906127
9046705057
9165540825

23 parts on this diagram · 2 diagrams in section

FRONT BUMPER & BUMPER STAY — Toyota Parts Diagram with OEM Numbers & Prices | EPC Data