E
EPC Data

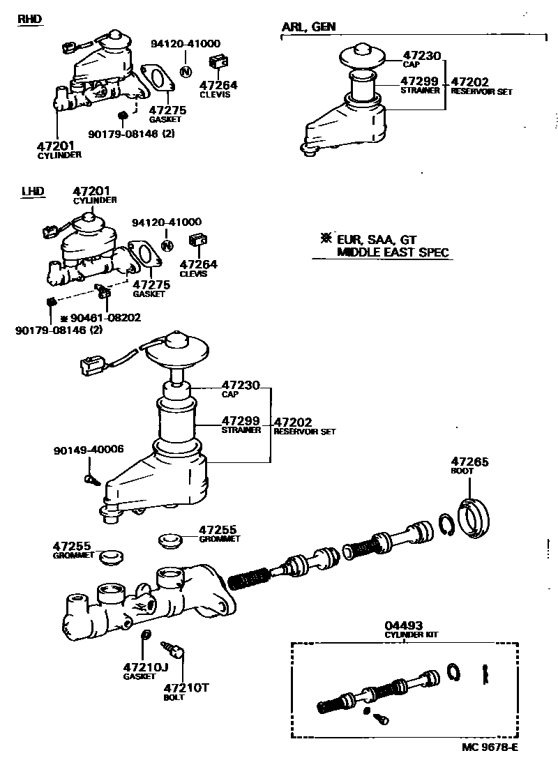
BRAKE MASTER CYLINDER

Parts diagram
04493CYLINDER KIT, BRAKE MASTER
main04493-12130i198305-198707
main04493-12140i198305-198804
47201CYLINDER SUB-ASSY, BRAKE MASTER
main47201-12400i198305-198704
main47201-12410i198305-198804
main47201-12420i198305-198704
main47201-12430i198305-198704
main47201-12440i198305-198704
main47201-12440i198305-198704
MIDDLE EAST SPEC
main47201-12450i198305-198704
SWEDEN SPEC
main47201-12480i198410-198704
main47201-12490i198410-198704
47202RESERVOIR SUB-ASSY, BRAKE MASTER CYLINDER
main47202-12320i198305-198704
SWEDEN SPEC
main47202-12330i198305-198707
main47202-12330i198305-198704
MIDDLE EAST SPEC
main47202-12340i198305-198804
main47202-12350i198305-198807
main47202-12360i198305-198704
47210JGASKET(FOR MASTER CYLINDER)
main90430-06104i198305-198804
47210TBOLT(FOR BRAKE MASTER CYLINDER)
main90109-06077i198305-198804
47230CAP ASSY, BRAKE MASTER CYLINDER RESERVOIR FILLER
main47230-12040i198305-198807
main84460-12060i198305-198704
SWEDEN SPEC
main84460-12070i198305-198704
MIDDLE EAST SPEC
main84460-12070i198305-198707
main84460-12080i198305-198804
47255GROMMET, MASTER CYLINDER RESERVOIR
main47255-10010i198305-198804
47264CLEVIS, MASTER CYLINDER PUSH ROD
main47264-10080i198305-198804
47265BOOT, MASTER CYLINDER
main47265-20050i198305-198804
47275GASKET, BRAKE MASTER CYLINDER
main47275-14010i198305-198804
47299STRAINER, BRAKE MASTER CYLINDER RESERVOIR
main47299-32010i198305-198807
9014940006
9017908146
9046108202
9412041000

15 parts on this diagram · 1 diagram in section

BRAKE MASTER CYLINDER — Toyota Parts Diagram with OEM Numbers & Prices | EPC Data