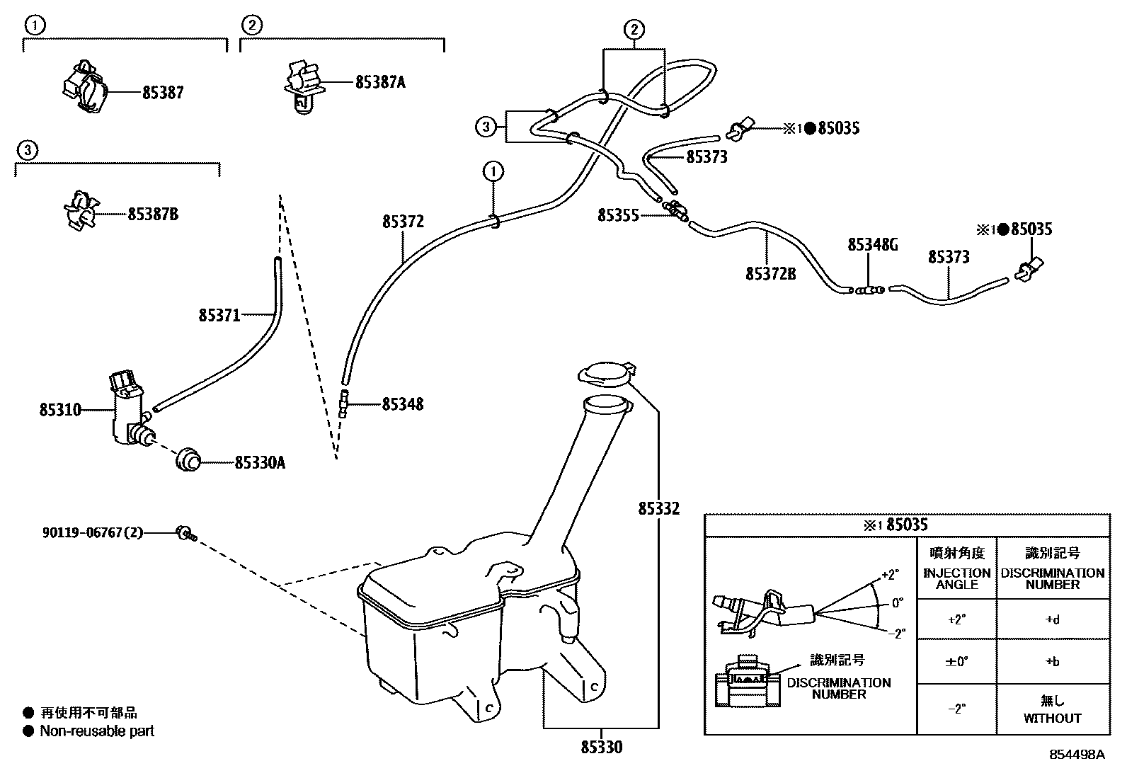
WINDSHIELD WASHER

85035NOZZLE SUB-ASSY, WASHER
ANGLE +2
85310MOTOR AND PUMP ASSY, WINDSHIELD WASHER
85330JAR ASSY, WINDSHIELD WASHER
85330ABUSH, WINDSHIELD WASHER JAR
85332CAP, WINDSHIELD WASHER JAR
85348JOINT, WINDSHIELD WASHER HOSE, NO.1
85348GJOINT, WINDSHIELD WASHER HOSE, NO.2
85355VALVE, WINDSHIELD WASHER HOSE
85371HOSE, WINDSHIELD WASHER (FROM MOTOR TO JOINT)
L=260
L=260
85372HOSE, WINDSHIELD WASHER (FROM JOINT TO JOINT), NO.1
L=1620
85372BHOSE, WINDSHIELD WASHER (FROM JOINT TO JOINT), NO.2
L=300
85373HOSE, WINDSHIELD WASHER (FROM JOINT TO NOZZLE)
L=1000(*H,L=180)
85387CLAMP NO.1 (FOR WINDSEIELD WASHER)
85387ACLAMP, WASHER, NO.2
85387BCLAMP, WASHER, NO.3
9011906767
main90119-06767
16 parts on this diagram · 2 diagrams in section