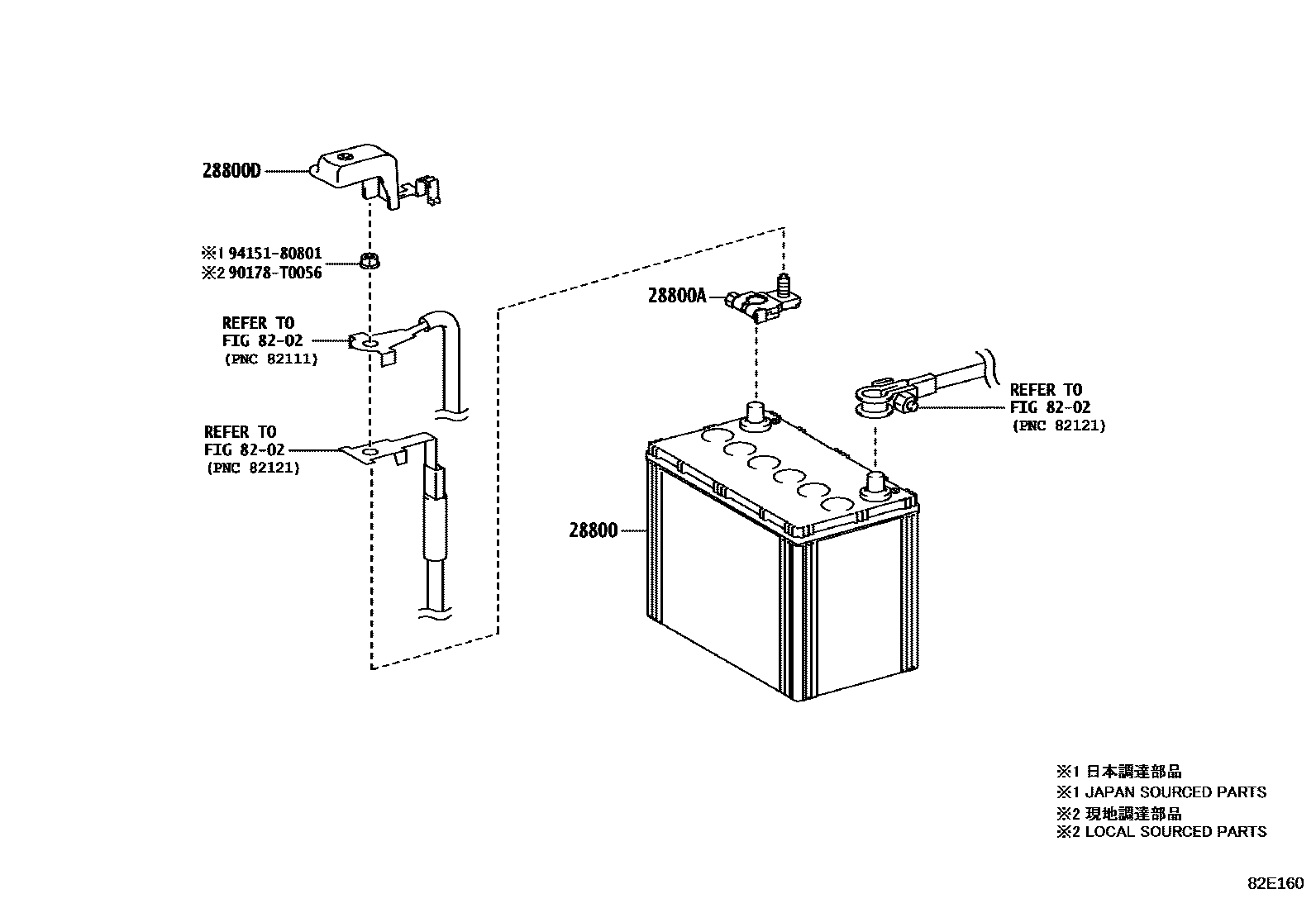
BATTERY & BATTERY CABLE

28800BATTERY
34B19L(S),GS
34B19L(S),GS
34B19L(S),YUASA
34B19L(S),YUASA
28800ATERMINAL, BATTERY POSITIVE
28800DCOVER, CONNECTOR(FOR BATTERY TERMINAL)
8202WIRING & CLAMP
90178T0056
main90178-T0056
9415180801
main94151-80801
6 parts on this diagram · 1 diagram in section