E
EPC Data

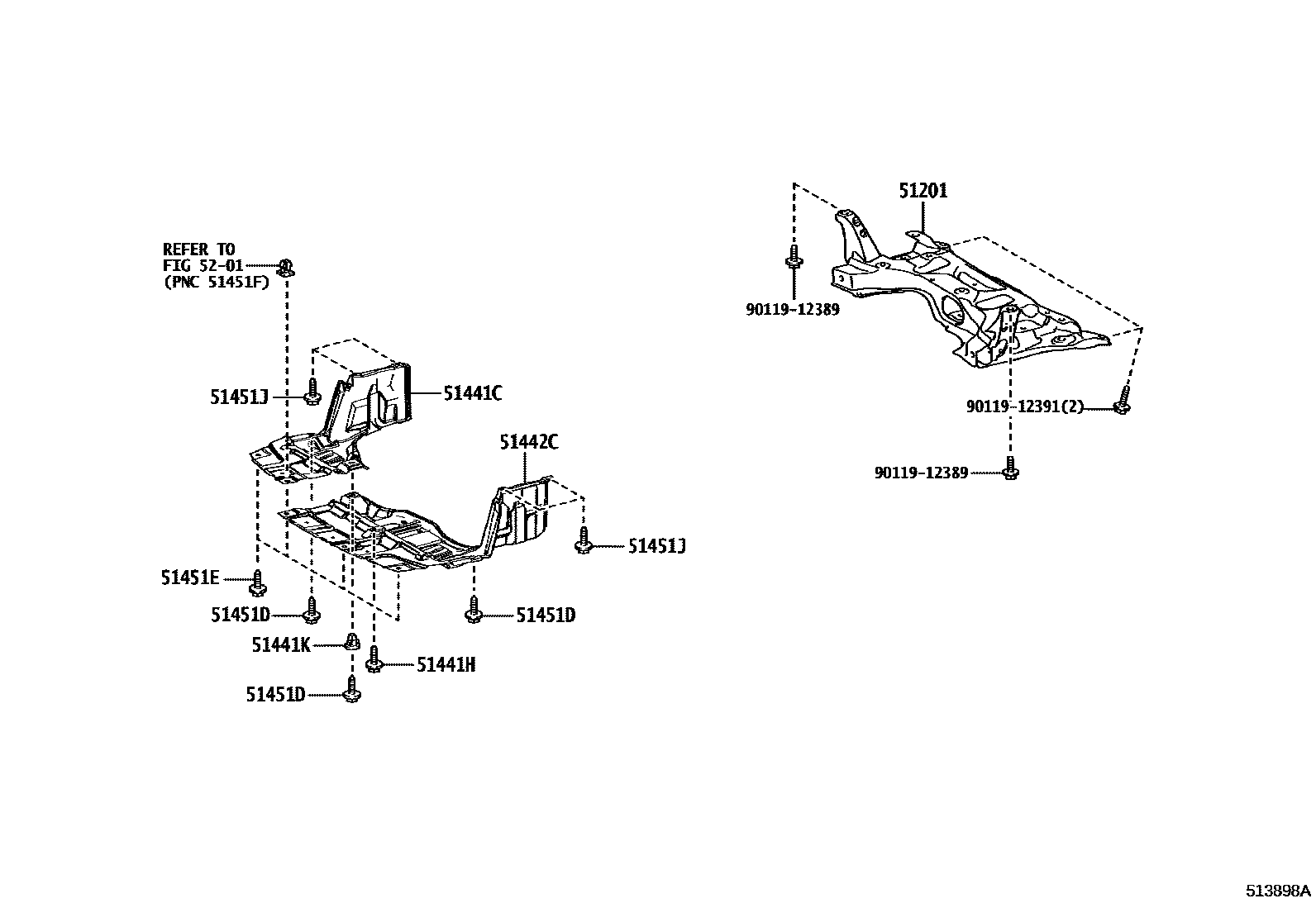
SUSPENSION CROSSMEMBER & UNDER COVER

Parts diagram
51201CROSSMEMBER SUB-ASSY, FRONT SUSPENSION
main51201-0D171i202101-202306
51441CCOVER, ENGINE UNDER, RH
main51441-0D320i202101-202306
51441HBOLT, W/WASHER(FOR ENGINE UNDER COVER)
main90119-06767i202101-202306
51441KGROMMET(FOR ENGINE UNDER COVER)
main90189-06006i202101-202306
51442CCOVER, ENGINE UNDER, LH
main51442-0D200i202101-202306
51451DSCREW, NO.1
main90159-60383×3i202101-202306
51451ESCREW, NO.2
main90159-T0033×4i202101-202306
51451JBOLT, NO.1
main90119-06767×4i202101-202306
5201
9011912389
9011912391

11 parts on this diagram · 1 diagram in section

SUSPENSION CROSSMEMBER & UNDER COVER — Toyota Parts Diagram with OEM Numbers & Prices | EPC Data