E
EPC Data

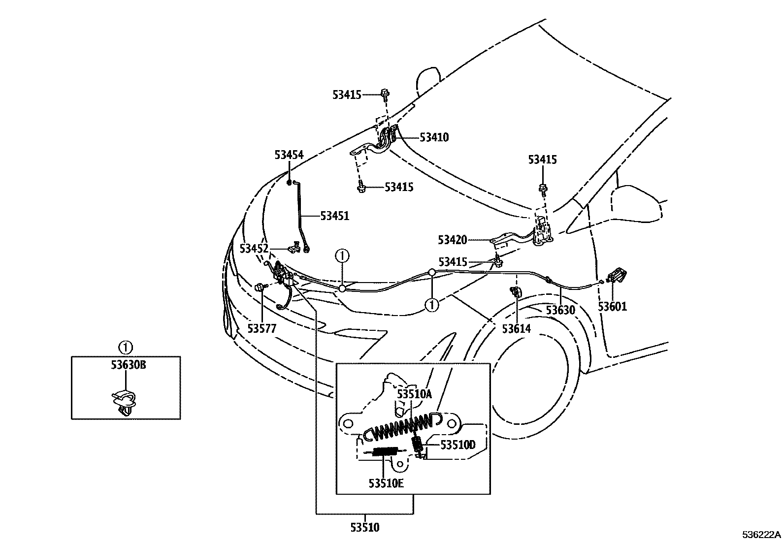
HOOD LOCK & HINGE

Parts diagram
53410HINGE ASSY, HOOD, RH
main53410-0D490i201911
53415BOLT, HOOD HINGE
main90105-T0120×4i201911-202405
53420HINGE ASSY, HOOD, LH
main53420-0D490i201911-202405
53451ROD, HOOD SUPPORT
main53440-0D240i201911
53452HOLDER, HOOD STAY
main53452-0D090i201911
53454CLIP, HOOD SUPPORT ROD
main90480-T0009i201911
53510LOCK ASSY, HOOD
main53510-0D810i201911
main53510-0D820i201911-202405
53510ASPRING, TENSION(FOR HOOD LOCK)
main90506-16077i201911-202405
WD=1.6,CW=12
53510DSPRING, TENSION(FOR HOOD LOCK)
main90506-12063i201911-202405
WD=1.2,CW=8.5
53510ESPRING, TENSION(FOR HOOD LOCK)
main90506-09055i201911-202405
WD=0.9,CW=21
53577BOLT, HOOD LOCK
main90119-T0273×3i201911-202405
53601LEVER SUB-ASSY, HOOD LOCK CONTROL
main53601-0D040-C1i201911-202405
BLACK,TRIM2#
53614CLAMP, HOOD LOCK CONTROL CABLE
main82711-16790i201911-202405
53630CABLE ASSY, HOOD LOCK CONTROL
main53630-0D370i201911-202405
53630BCLAMP(FOR HOOD LOCK CONTROL CABLE)
main90469-06005×2i201911-202405

15 parts on this diagram · 1 diagram in section