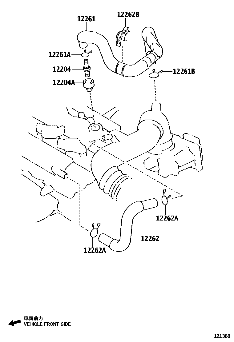
VENTILATION HOSE
12204VALVE SUB-ASSY, VENTILATION
main12204-0Y020i1NRFBE,2NRFBE..NSP15#..6F..R201911-202104 12204AGROMMET(FOR VENTILATION SYSTEM)
main90480-T0013i1NRFBE,2NRFBE..NSP15#..6F..R201911-202104 12261HOSE, VENTILATION
main12261-0Y041i1NRFBE,2NRFBE..NSP15#..6F..R201911-202104 12261ACLIP OR CLAMP(FOR VENTILATION HOSE)
main90466-T0061i1NRFBE,2NRFBE..NSP15#..6F..R201911-202104 12261BCLIP OR CLAMP(FOR VENTILATION HOSE)
main90466-T0062i1NRFBE,2NRFBE..NSP15#..6F..R201911-202104 12262HOSE, VENTILATION, NO.2
main12262-0Y110i1NRFBE,2NRFBE..NSP15#..6F..R201911-202104 12262ACLIP(FOR VENTILATION HOSE NO.2)
main90466-T0027×2i1NRFBE,2NRFBE..NSP15#..6F..R201911-202104 12262BCLAMP(FOR VENTILATION HOSE)
main16581-47020i1NRFBE,2NRFBE..NSP15#..6F..R201911-202104 8 parts on this diagram · 1 diagram in section
VENTILATION HOSE — Toyota Parts Diagram with OEM Numbers & Prices | EPC Data