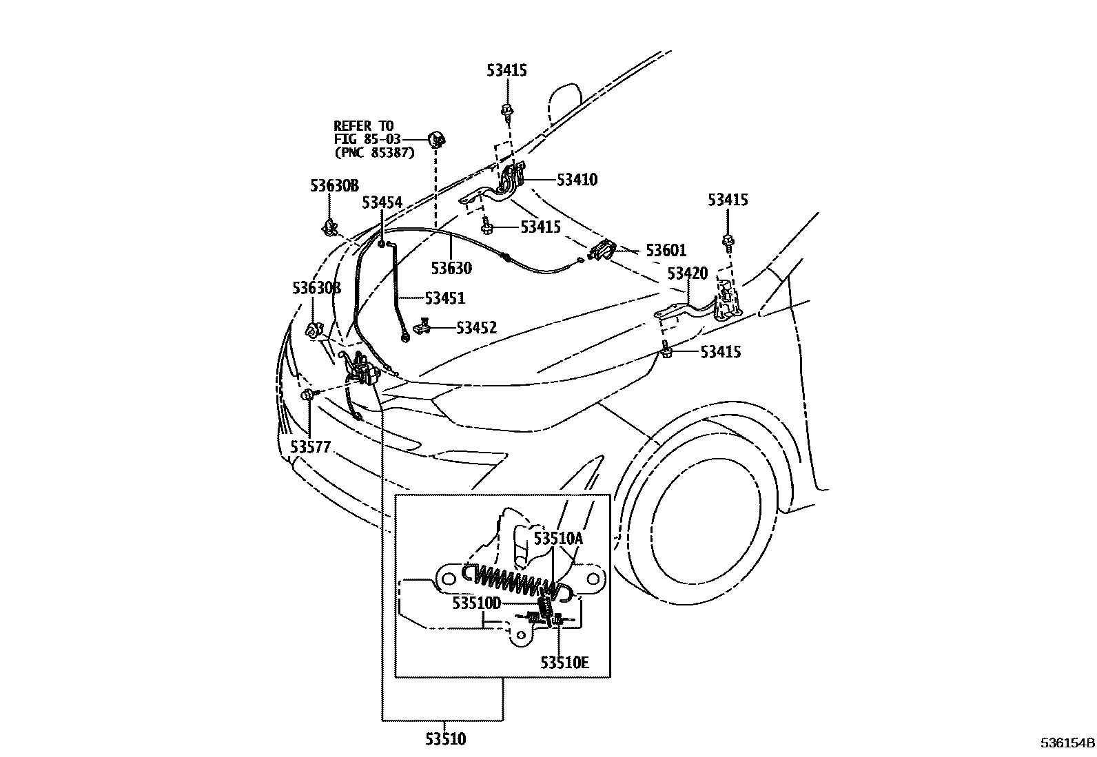
HOOD LOCK & HINGE

53410HINGE ASSY, HOOD, RH
53415BOLT, HOOD HINGE
53420HINGE ASSY, HOOD, LH
53451ROD, HOOD SUPPORT
53452HOLDER, HOOD STAY
53510LOCK ASSY, HOOD
53510ASPRING, TENSION(FOR HOOD LOCK)
WD=1.6,CW=12
53510DSPRING, TENSION(FOR HOOD LOCK)
WD=1.2,CW=8.5
53510ESPRING, TENSION(FOR HOOD LOCK)
WD=0.9,CW=21
53577BOLT, HOOD LOCK
53601LEVER SUB-ASSY, HOOD LOCK CONTROL
IVORY,TRIM0#
53630CABLE ASSY, HOOD LOCK CONTROL
53630BCLAMP(FOR HOOD LOCK CONTROL CABLE)
(J)
(L)
8503
15 parts on this diagram · 1 diagram in section