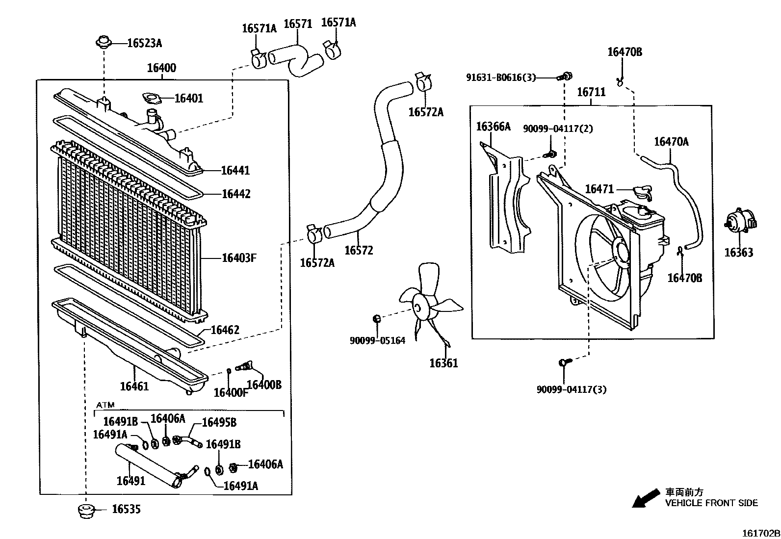
RADIATOR & WATER OUTLET

16361FAN
BLACK
INDONESIA SPEC
WHITE
16366AINSULATOR, COOLING FAN MOTOR
16400BPLUG, RADIATOR DRAIN COCK
16400FPACKING(FOR RADIATOR DRAIN COCK)
16403FCORE SUB-ASSY, RADIATOR
16406ASUPPORT(FOR OIL COOLER)
16441TANK, RADIATOR, UPPER
16442RING, O(FOR RADIATOR UPPER TANK)
16461TANK, RADIATOR, LOWER
16462RING, O(FOR RADIATOR LOWER TANK)
16470AHOSE OR PIPE(FOR RADIATOR RESERVE TANK)
L=420
*H,L=430
16470BCLAMP OR CLIP(FOR RADIATOR RESERVE TANK HOSE)
16471CAP SUB-ASSY, RESERVE TANK
16491COOLER, OIL(FOR ATM)
16491ARING, O(FOR ATM OIL COOLER)
16491BWASHER, PLATE(FOR ATM OIL COOLER)
16495BPIPE (FOR ATM OIL COOLER)
16523CUSHION, SUB-RADIATOR SUPPORT
16523ACUSHION, RADIATOR SUPPORT
16535SUPPORT, RADIATOR, LOWER
16571HOSE, RADIATOR, INLET
16571ACLAMP OR CLIP, HOSE(FOR RADIATOR INLET)
NO.2
NO.1 & NO.2
NO.1
16572HOSE, RADIATOR, OUTLET
16572ACLAMP OR CLIP, HOSE(FOR RADIATOR OUTLET NO.1)
NO.2
NO.1 & NO.2
NO.1
16711SHROUD, FAN
9009904117
main90099-04117
9009905164
main90099-05164
91631B0616
main91631-B0616
31 parts on this diagram · 8 diagrams in section