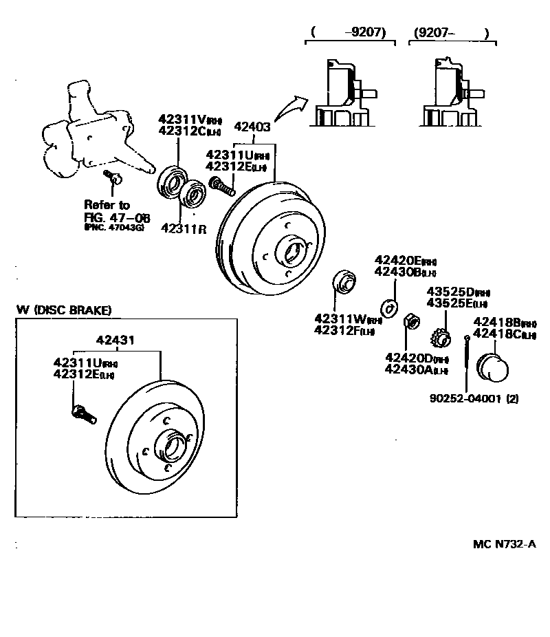
REAR AXLE SHAFT & HUB

42311RBEARING(FOR REAR AXLE SHAFT INNER)
42311UBOLT, HUB(FOR REAR AXLE RH)
42311VSEAL, OIL(FOR REAR AXLE SHAFT RH)
42311WBEARING(FOR REAR AXLE SHAFT OUTER RH)
42312CSEAL, OIL(FOR REAR AXLE SHAFT LH)
42312EBOLT, HUB(FOR REAR AXLE LH)
42312FBEARING(FOR REAR AXLE SHAFT OUTER LH)
42403DRUM SUB-ASSY, REAR BRAKE
42418BCAP, REAR HUB GREASE, RH
42418CCAP, REAR HUB GREASE, LH
42420DNUT (FOR REAR AXLE SHAFT RH)
42420EWASHER, CLAW (FOR REAR AXLE SHAFT RH)
42430ANUT (FOR REAR AXLE SHAFT LH)
42430BWASHER, CLAW (FOR REAR AXLE SHAFT LH)
42431DISC, REAR
43525DCAP, REAR WHEEL ADJUSTING LOCK, RH
43525ECAP, REAR WHEEL ADJUSTING LOCK, LH
4706REAR DRUM BRAKE WHEEL CYLINDER & BACKING PLATE
9025204001
main90252-04001
19 parts on this diagram · 1 diagram in section