E
EPC Data

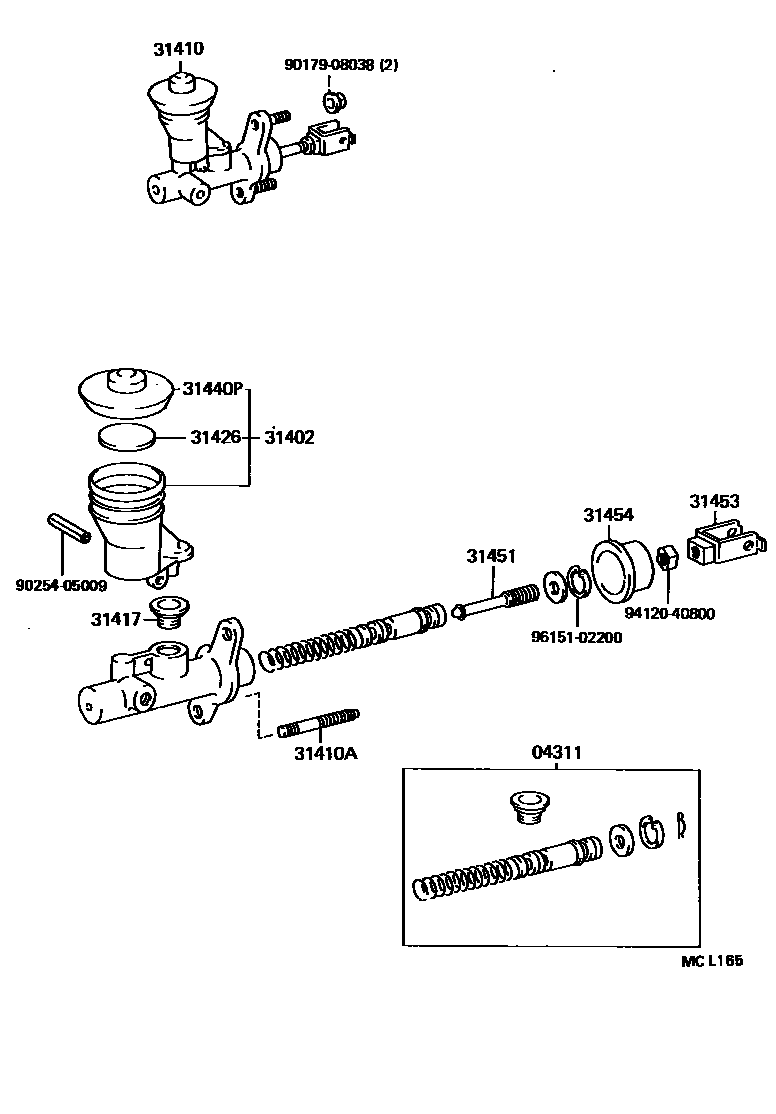
CLUTCH MASTER CYLINDER

Parts diagram
04311CYLINDER KIT, CLUTCH MASTER
main04311-12060i199104-199205
main04311-12080i199205-199403
main04311-12110i199403-199508
31402RESERVOIR SUB-ASSY, CLUTCH MASTER CYLINDER
main31402-10030i199104-199508
31410CYLINDER ASSY, CLUTCH MASTER
main31410-10030i199104-199508
31410ABOLT(FOR CLUTCH MASTER CYLINDER SETTING)
main90116-08146i199104-199508
31417GROMMET, CLUTCH RESERVOIR
main31417-35010i199104-199508
31426FLOAT, CLUTCH MASTER CYLINDER RESERVOIR
main31426-30011i199104-199508
31440PCAP ASSY, CLUTCH MASTER CYLINDER RESERVOIR FILLER
main31405-36010i199104-199508
31451ROD, CLUTCH MASTER CYLINDER PUSH
main31451-20090i199104-199508
31453CLEVIS, CLUTCH MASTER CYLINDER PUSH ROD
main31453-10040i199104-199508
31454BOOT, CLUTCH MASTER CYLINDER
main31454-16010i199202-199508
main31454-24010i199104-199202
9017908038
9025405009
9412040800
9615102200

14 parts on this diagram · 1 diagram in section

CLUTCH MASTER CYLINDER — Toyota Parts Diagram with OEM Numbers & Prices | EPC Data