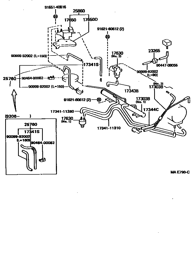
VACUUM PIPING

17303BPIPE SUB-ASSY, AIR, NO.1
NO.1
NO.1
NO.3
NO.2
NO.2
NO.4
17341SHOSE, AIR
17343BHOSE, NO.3(FOR IDLE-UP)
17344CHOSE, NO.4(FOR IDLE-UP)
17630VALVE ASSY, AIR CONTROL
NO.2
NO.1
17650VALVE ASSY, VACUUM SWITCHING
NO.1
NO.2
NO.3
17650DBRACKET, VACUUM SWITCHING VALVE
23265FILTER, GAS, NO.1
25760HOSE ASSY, VACUUM TRANSMITTING
25860VALVE ASSY, VACUUM SWITCHING, NO.1
1734111260HOSE, NO.1(FOR AIR INJECTION SYSTEM)
main17341-11260
1734111310HOSE, NO.1(FOR AIR INJECTION SYSTEM)
main17341-11310
9009992002
main90099-92002
9044708055
main90447-08055
9046400082
main90464-00082
9099992002
main90999-92002
9162160612
main91621-60612
9165140816
main91651-40816
18 parts on this diagram · 2 diagrams in section