E
EPC Data

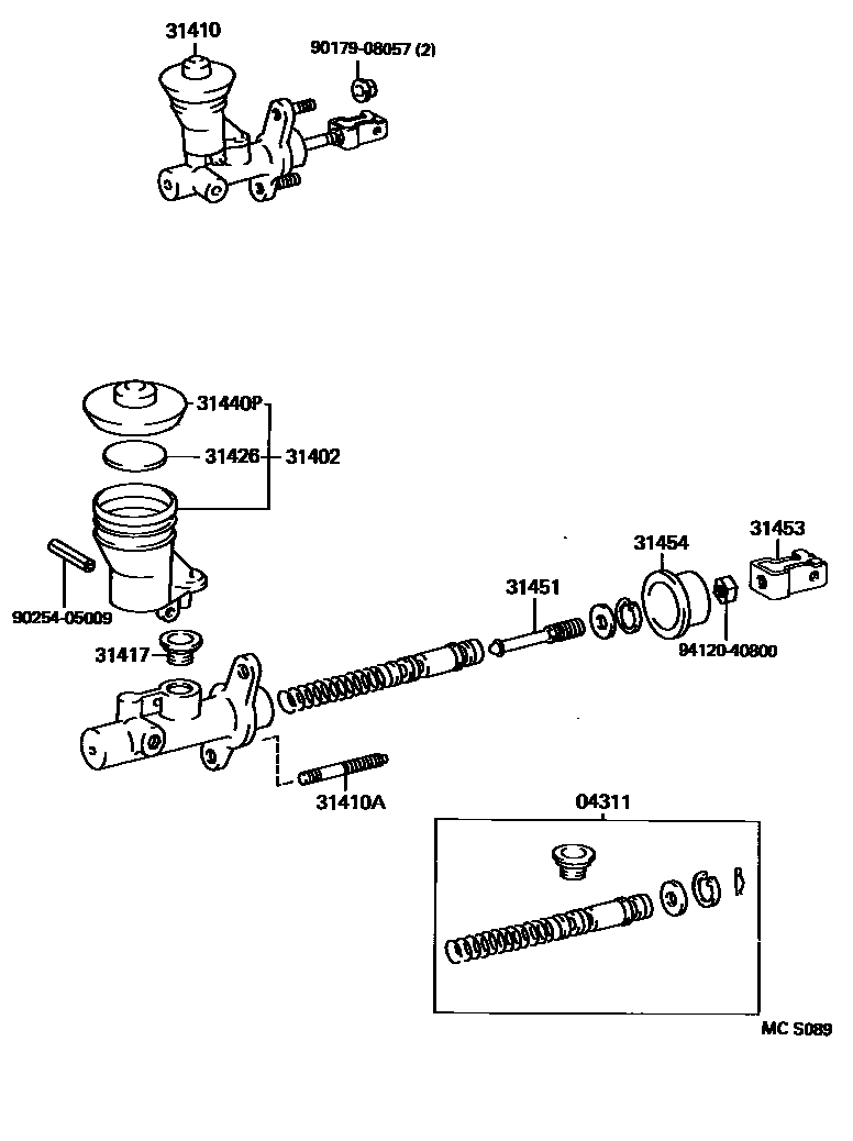
CLUTCH MASTER CYLINDER

Parts diagram
04311CYLINDER KIT, CLUTCH MASTER
main04311-12110i199508
31402RESERVOIR SUB-ASSY, CLUTCH MASTER CYLINDER
main31402-10030i199508
main31402-16010i199508
31410CYLINDER ASSY, CLUTCH MASTER
main31410-10030i199508
main31410-16040i199508
31410ABOLT(FOR CLUTCH MASTER CYLINDER SETTING)
main90116-08146×2i199508
31417GROMMET, CLUTCH RESERVOIR
main31417-35010i199508
31426FLOAT, CLUTCH MASTER CYLINDER RESERVOIR
main31426-22020i199508
main31426-30011i199508
31440PCAP ASSY, CLUTCH MASTER CYLINDER RESERVOIR FILLER
main31405-36010i199508
31451ROD, CLUTCH MASTER CYLINDER PUSH
main31451-16020i199508-199703
main31451-20090i199508-199703
31453CLEVIS, CLUTCH MASTER CYLINDER PUSH ROD
main31453-10040i199508
31454BOOT, CLUTCH MASTER CYLINDER
main31454-16010i199508
9017908057
9025405009
9412040800

13 parts on this diagram · 2 diagrams in section

CLUTCH MASTER CYLINDER — Toyota Parts Diagram with OEM Numbers & Prices | EPC Data