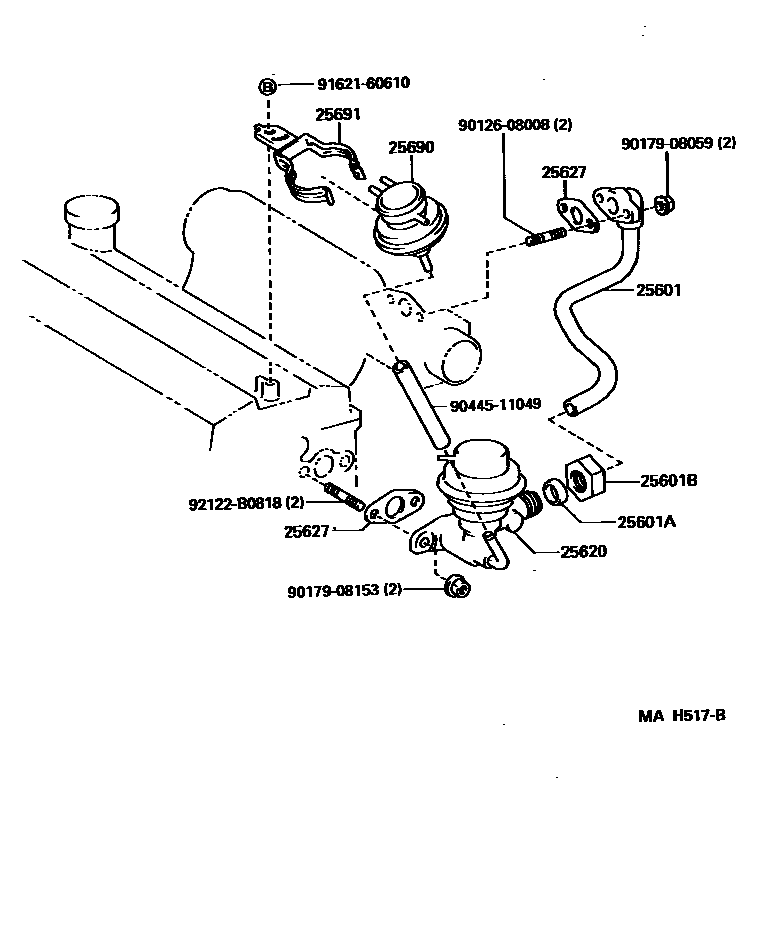
EXHAUST GAS RECIRCULATION SYSTEM

25601PIPE SUB-ASSY, EGR, NO.1
25601ASLEEVE, BALL, EGR PIPE, NO.1
25601BNUT, UNION, EGR PIPE, NO.1
25620VALVE ASSY, EGR
25627GASKET, EGR VALVE
25690MODULATOR ASSY, EGR VACUUM
25691BRACKET, EGR VACUUM MODULATOR
9012608008
main90126-08008
9017908059
main90179-08059
9017908153
main90179-08153
9044511049
main90445-11049
9162160610
main91621-60610
92122B0818
main92122-B0818
13 parts on this diagram · 1 diagram in section