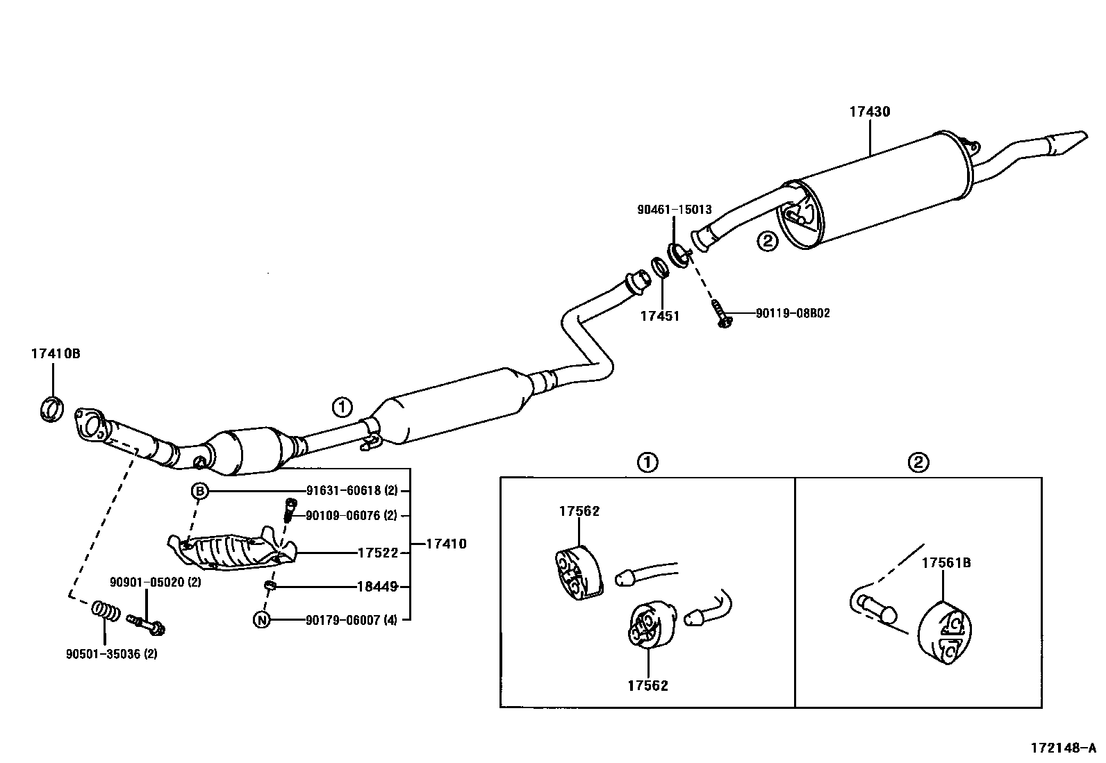
EXHAUST PIPE

17410PIPE ASSY, EXHAUST, FRONT
*115=TOYOTA/99-/Y
*115=TOYOTA/99-/Y
LEADED GASOLINE SPEC
17410BGASKET, EXHAUST PIPE
17430PIPE ASSY, EXHAUST, TAIL
17451GASKET, EXHAUST PIPE
17522PROTECTOR, EXHAUST PIPE, UPPER NO.2
17561BSUPPORT, EXHAUST PIPE, NO.1
17562SUPPORT, EXHAUST PIPE, NO.2
18449SPACER, CONVERTER PROTECTOR
9010906076
main90109-06076
9011908B02
main90119-08B02
9017906007
main90179-06007
9046115013
main90461-15013
9050135036
main90501-35036
9090105020
main90901-05020
9163160618
main91631-60618
15 parts on this diagram · 2 diagrams in section