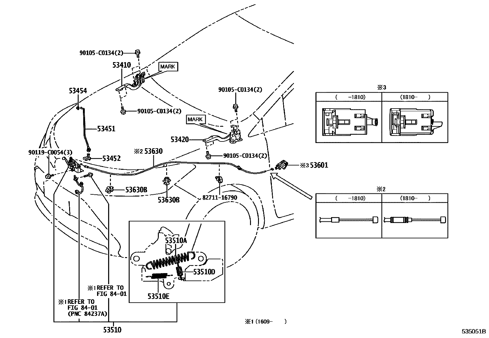
HOOD LOCK & HINGE

53410HINGE ASSY, HOOD, RH
MARK 0
MARK +
MARK -
53420HINGE ASSY, HOOD, LH
MARK 0
MARK +
MARK -
53451ROD, HOOD SUPPORT
53452HOLDER, HOOD STAY
53454CLIP, HOOD SUPPORT ROD
53510ASPRING, TENSION(FOR HOOD LOCK)
WD=1.6,CW=12
53510DSPRING, TENSION(FOR HOOD LOCK)
WD=1.2,CW=8.5
53510ESPRING, TENSION(FOR HOOD LOCK)
WD=0.9,CW=21
53601LEVER SUB-ASSY, HOOD LOCK CONTROL
IVORY,TRIM0#
BLACK,TRIM2#
IVORY,TRIM0#
BLACK,TRIM1#,2#
53630CABLE ASSY, HOOD LOCK CONTROL
53630BCLAMP(FOR HOOD LOCK CONTROL CABLE)
8401SWITCH & RELAY & COMPUTER
8271116790WIRE, FUSE TO FUSE(FOR COMBUSTION HEATER)
main82711-16790
90105C0134
main90105-C0134
90119C0054
main90119-C0054
16 parts on this diagram · 1 diagram in section